Foram encontradas 919 questões.
Observe a figura a seguir, ela mostra uma célula eucariótica animal e suas principais organelas.

Considerando que cada organela desempenha uma função específica no metabolismo das células, é errado afirmar que:
Provas
O nitrogênio está presente nos aminoácidos, proteínas, DNA, RNA e em outras estruturas celulares. Apesar de ser o mais abundante dos elementos do ar atmosférico, aproximadamente 80% do ar é composto por N2. Os animais e as plantas não são capazes de metabolizá-lo na forma gasosa e retirá-lo diretamente do ar. Uma maneira de transformar o nitrogênio da natureza num elemento aproveitável pelas plantas é o que as fábricas de fertilizantes fazem, por exemplo, quando produzem o sulfato de amônio, (NH4)2SO4. As ligações químicas que formam o gás nitrogênio e o íon amônio são, respectivamente,
Provas
- Química CinéticaTransformações Químicas
- Química InorgânicaSoluções e Substâncias Inorgânicas
- Química InorgânicaReações Inorgânicas
No processo de Claus usado na recuperação de enxofre do gás natural e do petróleo, o sulfeto de hidrogênio reage com dióxido de enxofre, para formar enxofre elementar e água, de acordo com a seguinte equação química:
2 H2S(g) + SO2(g) → 3 S(s) + 2 H2O(l)
A partir da equação precedente, indique a alternativa que apresente o redutor e o oxidante.
Provas
Suponhamos que você tenha uma amostra de 100 mL de água do mar que apresenta uma concentração de NaCl de 0,550 mol/L. Você transfere 10 mL dessa amostra para um balão volumétrico de 100 mL e completa até o traço de aferição com água destilada. Após misturar a amostra diluída, você então transfere 5 mL dessa amostra para outro balão de 100 mL e completa com água destilada. Calcule a concentração, em mol/L de NaCl na amostra final de 100 mL.
Provas
- Química OrgânicaFunções Nitrogenadas: Amina, Amida, Nitrila, Isonitrila e Nitro Composto
- Química OrgânicaFunções Oxigenadas: Álcool, Fenol e Enol
- Química OrgânicaFunções Oxigenadas: Cetona, Aldeído, Éter, Éster, Ácido Carboxílico etc.
A estrutura abaixo é o fármaco Doxorrubicina, que é utilizado em um nanofármaco na forma peguilhada para alguns tipos de câncer de ovário. Podemos dizer que, em relação a sua estrutura, as funções orgânicas indicadas pelos números 1, 2, 3 e 4 são, respectivamente,

Provas
O superóxido de potássio é utilizado como purificador de ar em ambientes fechados habitáveis, porque esse composto reage com dióxido de carbono e libera oxigênio, de acordo com a seguinte equação química:
4 KO2(s) + 2 CO2(g) → 2 K2CO3(s) + 3 O2(g)
Tendo como referência a reação acima, assinale a alternativa que apresente o volume exato de O2 liberado nas condições normais de temperatura e pressão (CNTP), para a reação de 28,4 g de KO2 (volume molar dos gases (CNTP) = 22,4 L)
Provas
Já foram tentadas várias maneiras de produzir biocombustíveis, com algumas mais bem-sucedidas que outras. Um método que não funcionou é tratar a biomassa bacteriana com soluções aquosas de hipoclorito de sódio (NaClO) para tentar digerir as biomoléculas complexas presentes. Em uma tentativa para pesquisar mais esse processo, uma solução é preparada dissolvendo-se 45,0 g de NaClO em água suficiente para produzir exatamente 750 mL de solução. Assinale a alternativa que indique corretamente o valor da concentração dessa solução em mol/L.
Provas
- FundaçõesTipos de Fundações
- Resistência dos Materiais e Análise EstruturalEstruturas de ConcretoConcreto Armado
- Normas e LegislaçõesNBRsNBR 6.118: Projeto de Estruturas de Concreto (Procedimento)
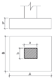
A figura a seguir mostra uma sapata hipotética de concreto armado de balanços iguais.

Segundo o item 22.6.1 da NBR 6118/2014, para ser considerada uma sapata rígida é preciso que
Provas
Texto para as questões 47 a 54
I-Juca Pirama
(Gonçalves Dias)
VIII
“Tu choraste em presença da morte?
Na presença de estranhos choraste?
Não descende o cobarde do forte;
Pois choraste, meu filho não és!
Possas tu, descendente maldito
De uma tribo de nobres guerreiros,
Implorando cruéis forasteiros,
Seres presa de vis Aimorés.
“Possas tu, isolado na terra,
Sem arrimo e sem pátria vagando,
Rejeitado da morte na guerra,
Rejeitado dos homens na paz,
Ser das gentes o espectro execrado;
Não encontres amor nas mulheres,
Teus amigos, se amigos tiveres,
Tenham alma inconstante e falaz!
“Não encontres doçura no dia,
Nem as cores da aurora te ameiguem,
E entre as larvas da noite sombria
Nunca possas descanso gozar:
Não encontres um tronco, uma pedra,
Posta ao sol, posta às chuvas e aos ventos,
Padecendo os maiores tormentos,
Onde possas a fronte pousar.
“Que a teus passos a relva se torre;
Murchem prados, a flor desfaleça,
E o regato que límpido corre,
Mais te acenda o vesano furor;
Suas águas depressa se tornem,
Ao contacto dos lábios sedentos,
Lago impuro de vermes nojentos,
Donde fujas como asco e terror!
“Sempre o céu, como um teto incendido,
Creste e punja teus membros malditos
E o oceano de pó denegrido
Seja a terra ao ignavo tupi!
Miserável, faminto, sedento,
Manitôs lhe não falem nos sonhos,
E do horror os espectros medonhos
Traga sempre o cobarde após si.
“Um amigo não tenhas piedoso
Que o teu corpo na terra embalsame,
Pondo em vaso d’argila cuidoso
Arco e frecha e tacape a teus pés!
Sê maldito, e sozinho na terra;
Pois que a tanta vileza chegaste,
Que em presença da morte choraste,
Tu, cobarde, meu filho não és.”
De uma tribo de nobres guerreiros
O verso acima se classifica sintaticamente como
Provas
Texto para as questões 37 a 46
Alma minha gentil, que te partiste
Tão cedo desta vida descontente,
Repousa lá no Céu eternamente,
E viva eu cá na terra sempre triste.
Se lá no assento etéreo, onde subiste,
Memória desta vida se consente,
Não te esqueças daquele amor ardente
Que já nos olhos meus tão puro viste.
E se vires que pode merecer-te
Alguma cousa a dor que me ficou
Da mágoa, sem remédio, de perder-te;
Roga a Deus que teus anos encurtou,
Que tão cedo de cá me leve a ver-te,
Quão cedo de meus olhos te levou.
(Luís de Camões)
Quão cedo de meus olhos te levou
O verso acima se classifica sintaticamente como
Provas
Caderno Container