Foram encontradas 413 questões.
A eutrofização é o crescimento excessivo das plantas aquáticas, tanto planctônicas, quanto aderidas, a níveis tais que sejam consideradas causadoras de interferências com os usos desejáveis do corpo d’água. Desta forma, os corpos d’água recebem uma classificação, segundo o seu grau ou classe de trofia. Um corpo d’água que esteja sendo usado para abastecimento de água potável admite, para o grau de trofia oligotrófico, a condição
Provas
O tratamento de esgoto, processado através de fenômenos físicos, químicos e biológicos, é classificado de acordo com a sua eficiência, ou seja, pelo percentual de material removido. O que tem por objetivo a remoção por ação física do material grosseiro e uma parcela das partículas maiores em suspensão no esgoto é o tratamento
Provas
A água é um importante veículo de transmissão de doenças para os seres humanos. São as chamadas doenças de transmissão hídrica. Com relação aos microrganismos patogênicos, um exemplo de doença causada por protozoário é
Provas
Dentre as ferramentas ou métodos utilizados para o planejamento de obras e serviços de Engenharia Civil, citados abaixo, qual é a mais utilizada quando ocorrem atividades repetitivas, como, por exemplo, a construção de 100 casas iguais no mesmo loteamento?
Provas
Com relação a planejamento, gerenciamento e controle de contratos de obras e serviços de engenharia, analise as afirmativas a seguir.
I – O cronograma físico-financeiro é aquele que possui barras e que apresenta as atividades, os tempos de execução, os valores referentes a cada atividade, os valores parciais por período de duração e os valores totais parciais e acumulados.
II – O prazo global de realização de uma obra ou serviço é determinado pelo início dos serviços e pela lavratura do termo de recebimento provisório.
III – A garantia contratual é o instrumento pelo qual é assegurado ao contratante o ressarcimento parcial ou total de prejuízos decorrentes da inadimplência do contratado.
IV – O diário de obra é o livro onde são registrados, diariamente, pelo construtor, e a cada vistoria, pela fiscalização, fatos, observações e comunicações relevantes ao andamento da construção.
V – O caderno de encargos de uma construção é o conjunto de especificações técnicas, critérios, condições e procedimentos estabelecidos pelo construtor para a execução e fiscalização de obras e serviços.
Desta forma, são corretas APENAS as afirmativas
Provas
Ao assistir uma palestra sobre custos de obras e serviços de engenharia, uma pessoa que estava na plateia fez várias anotações, sendo uma INCORRETA. Assinale essa anotação.
Provas
Para responder a questão, considere as siglas a seguir.
EAS – Estabelecimento Assistencial de Saúde.
PBA – Projeto Básico de Arquitetura.
RDC 50 – Resolução Anvisa RDC nº 50, de 21/02/2002, que dispõe sobre o Regulamento Técnico para planejamento, programação, elaboração e avaliação de projetos físicos de estabelecimentos assistenciais de saúde.
Portaria 840/07 – Portaria Funasa nº 840, de 15/08/2007, que estabelece as diretrizes para projetos físicos de estabelecimentos de saúde para povos indígenas.
NBR 9050 – Norma ABNT NBR 9050/2004, atualizada em 2005, de acessibilidade a edificações, mobiliário, espaços e equipamentos urbanos.
NBR 6492 – Norma ABNT NBR 6492/1994, de representação de projetos de arquitetura.
Uma obra tem cronograma físico-financeiro com prazo de quatro meses e com os serviços S1 e S2 apresentando custo total de R$ 10.000,00 e R$ 30.000,00, respectivamente. No mês 2 está prevista a realização de 10% do serviço S1 e de 30% do serviço S2. Logo, o mês 2 representa, em relação ao total da obra, um valor correspondente a
Provas
Para responder a questão, considere as siglas a seguir.
EAS – Estabelecimento Assistencial de Saúde.
PBA – Projeto Básico de Arquitetura.
RDC 50 – Resolução Anvisa RDC nº 50, de 21/02/2002, que dispõe sobre o Regulamento Técnico para planejamento, programação, elaboração e avaliação de projetos físicos de estabelecimentos assistenciais de saúde.
Portaria 840/07 – Portaria Funasa nº 840, de 15/08/2007, que estabelece as diretrizes para projetos físicos de estabelecimentos de saúde para povos indígenas.
NBR 9050 – Norma ABNT NBR 9050/2004, atualizada em 2005, de acessibilidade a edificações, mobiliário, espaços e equipamentos urbanos.
NBR 6492 – Norma ABNT NBR 6492/1994, de representação de projetos de arquitetura.
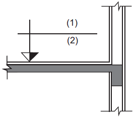
Considere NA = nível acabado, NF = nível final, NO = nível em osso, NP = nível do pavimento e a simbologia a seguir, que indica as cotas de nível em uma planta de corte.

NBR 6492/1994. (Adaptado)
De acordo com a NBR 6492, essas cotas devem ser medidas em metros e representadas de forma que em (1) e (2) estejam indicadas, respectivamente,
Provas
Disciplina: Engenharia Ambiental e Sanitária
Banca: CESGRANRIO
Orgão: FUNASA
Uma fossa séptica recebe a contribuição de esgotos, em lugar das estações de tratamento, ali inexistentes. O efluente líquido sai da fossa séptica e passa por uma canalização, até ser lançado ao solo, por dois tipos de destinação final, que são
Provas
Disciplina: Direito Educacional e Tecnológico
Banca: CESGRANRIO
Orgão: FUNASA
Os sistemas de ensino devem assegurar, gratuitamente, aos jovens e aos adultos que não puderam efetuar seus estudos na idade apropriada, oportunidades educacionais regulares. As empresas também têm um papel fundamental na permanência do trabalhador na escola, o que as beneficia pela qualificação da mão-de-obra. Em circunstâncias de parceria entre sistemas de ensino e empresas, a LDB nº 9.394/1996, em seu Art. 37, prevê a respeito da educação de jovens e adultos, que
Provas
Caderno Container