Foram encontradas 40 questões.
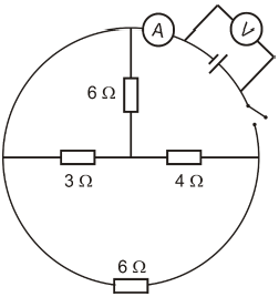
No circuito esquematizado pela figura a seguir, o voltímetro ideal indica 9 V.

Quando a chave C é fechada, o voltímetro continua indicando 9 V. Já o amperímetro ideal indica
Provas
Dois espelhos esféricos, ambos de raios de curvatura iguais a 40 cm, sendo um côncavo e outro convexo, de mesmo eixo principal, estão frente a frente. Entre eles há uma vela disposta perpendicularmente ao eixo principal numa posição tal que as imagens conjugadas pelos espelhos têm, ambas, metade do tamanho da vela.
A distância entre os vértices dos espelhos é de
Provas
Nas feiras-livres, ainda é muito utilizada a “balança de braços iguais”. Trata-se de uma alavanca interfixa na qual os pratos são equidistantes do ponto de apoio. Coloca-se, em um dos pratos, o corpo de massa M que se quer “pesar”. Dispondo-se de uma coleção de massas graduadas, verifica-se, por tentativas, qual a massa graduada m que, colocada no outro prato, é capaz de manter a balança em equilíbrio, como ilustra a figura.

Nesse caso, como x = y, então M = m.
Um dos golpes mais utilizados por feirantes desonestos é deslocar o ponto de apoio, fazendo com que um dos braços fique menor do que o outro. Assim, colocando o corpo de massa M que se quer pesar no prato que está mais próximo do ponto de apoio, a massa m graduada que, colocada no outro prato, equilibra a balança será maior do que M.
Para evitar ser vítima desse golpe, você pode utilizar a “dupla pesagem”, isto é, colocar o corpo que se quer “pesar” alternadamente em cada um dos pratos da balança e anotar o valor da massa graduada que, em cada caso, a equilibra:

Corpo de massa M no prato da esquerda, massa graduada que equilibra a balança igual a m1.

Corpo de massa M no prato da direita, massa graduada que equilibra a balança igual a m2.
Nesse caso, seja qual for o braço x ou y da balança, a massa M do corpo que se quer “pesar” é igual a
Provas
Um bloco de 60 kg é abandonado sobre um plano inclinado em 30º com a horizontal. Para mantê-lo em repouso, o bloco é preso a uma das extremidades de um fio que, após passar por uma roldana fixa, é puxado verticalmente para baixo, na outra extremidade, por um homem de 80 kg que está em repouso, de pé, sobre um piso horizontal, como ilustra a figura.

Considere o fio e a roldana ideais, os atritos desprezíveis, o trecho do fio entre o bloco e a roldana paralelo ao plano inclinado e g = 10 m/s2.
O módulo da força exercida pelo piso horizontal sobre o homem é
Provas
Um automóvel, que se deslocava a uma velocidade vo, é uniformemente retardado durante 6 s e, após percorrer 105 m, ele para.
A velocidade vo do automóvel no instante em que se iniciou o retardamento era de
Provas
READ THE FOLLOWING TEXT AND ANSWER THE QUESTION
How Physicians Can Prepare for the Future of Health Care
Ted A. James, MD, MHCM May 14, 2021

"Change is the law of life. And those who look only to the past or present are certain to miss the future." — John F. Kennedy
Why is it important for physicians to think about the future of medicine? In almost any endeavor, keeping ahead of the curve is rewarded, while missing the boat is met with peril. In the same way, having foresight into the future of health care can mean the difference between success and failure for physicians and their practices.
Physicians must plan for the future of medicine. We live in a period of tremendous upheaval, and things are unlikely to return to normal anytime soon. The only constant is change, and the ability of physicians to prepare for a changing future has farreaching implications for patients and health care organizations.
Newcomers are currently attempting to shift the clinical landscape to better meet patient care needs. These 'disruptive innovations' may displace those who are unable to adapt to the new trends. The same scenario has repeatedly played out in other markets, with conventional businesses left in the dust as innovators soar to new heights. Therefore, physicians should not only be prepared for the future of medicine, but we should also play a vital role in leading the change.
[…]
Accelerated Digital Health
The pandemic has accelerated the implementation of health care technologies and capabilities, which will radically alter the patient experience and clinical outcomes, paving the way for value-based disruption. The future offers hospital-level care provided to a patient's home at a lower cost and better outcomes using established technology such as remote monitoring. Similarly, AI will advance diagnostic capabilities and clinical decision support at a rapid pace. AI may also aid data mining, resulting in breakthroughs in precision medicine and predictive risk stratification. AI-powered technologies, such as health care chatbots, can allow greater access and timeliness of treatment. Although it is unlikely that digital technology will completely replace doctors anytime soon, physicians and practices who use these technologies may soon replace those who do not.
[…]
Developing a Disruptive Mindset
We must also be prepared to challenge our existing paradigms. Positive disruptive thinking is needed to avoid becoming obsolete. Developing a disruptive mindset requires adopting a positive view of change, never settling for the status quo and a willingness to take a start-up approach to transform health care. It is more than incremental iteration; it is a transformational shift. For example, the progression from records to tapes to CDs represented conventional innovation, while the advent of digital streaming music brought about a disruptive innovation in the music industry.
It is also important to employ 'Design Thinking,' where the patient's experience is considered when developing new health delivery strategies. Redesigning care from the patient's perspective, with their direct input, and incorporating technology to improve patient access and convenience can aid in the implementation of effective patient care solutions.
Why go back to normal when we can redesign a better future? I encourage physicians to take the first step in leading the transformation process. Commit to making things better by finding something to improve. Physicians have the power to restructure the health care system, and using the power to shape the future is the best way to prepare for it.
Adapted from: https://postgraduateeducation.hms.harvard.edu/trendsmedicine/ how-physicians-can-prepare-future-health-care
“While” in “keeping ahead of the curve is rewarded, while missing the boat is met with peril” connects two
Provas
READ THE FOLLOWING TEXT AND ANSWER THE QUESTION
How Physicians Can Prepare for the Future of Health Care
Ted A. James, MD, MHCM May 14, 2021

"Change is the law of life. And those who look only to the past or present are certain to miss the future." — John F. Kennedy
Why is it important for physicians to think about the future of medicine? In almost any endeavor, keeping ahead of the curve is rewarded, while missing the boat is met with peril. In the same way, having foresight into the future of health care can mean the difference between success and failure for physicians and their practices.
Physicians must plan for the future of medicine. We live in a period of tremendous upheaval, and things are unlikely to return to normal anytime soon. The only constant is change, and the ability of physicians to prepare for a changing future has farreaching implications for patients and health care organizations.
Newcomers are currently attempting to shift the clinical landscape to better meet patient care needs. These 'disruptive innovations' may displace those who are unable to adapt to the new trends. The same scenario has repeatedly played out in other markets, with conventional businesses left in the dust as innovators soar to new heights. Therefore, physicians should not only be prepared for the future of medicine, but we should also play a vital role in leading the change.
[…]
Accelerated Digital Health
The pandemic has accelerated the implementation of health care technologies and capabilities, which will radically alter the patient experience and clinical outcomes, paving the way for value-based disruption. The future offers hospital-level care provided to a patient's home at a lower cost and better outcomes using established technology such as remote monitoring. Similarly, AI will advance diagnostic capabilities and clinical decision support at a rapid pace. AI may also aid data mining, resulting in breakthroughs in precision medicine and predictive risk stratification. AI-powered technologies, such as health care chatbots, can allow greater access and timeliness of treatment. Although it is unlikely that digital technology will completely replace doctors anytime soon, physicians and practices who use these technologies may soon replace those who do not.
[…]
Developing a Disruptive Mindset
We must also be prepared to challenge our existing paradigms. Positive disruptive thinking is needed to avoid becoming obsolete. Developing a disruptive mindset requires adopting a positive view of change, never settling for the status quo and a willingness to take a start-up approach to transform health care. It is more than incremental iteration; it is a transformational shift. For example, the progression from records to tapes to CDs represented conventional innovation, while the advent of digital streaming music brought about a disruptive innovation in the music industry.
It is also important to employ 'Design Thinking,' where the patient's experience is considered when developing new health delivery strategies. Redesigning care from the patient's perspective, with their direct input, and incorporating technology to improve patient access and convenience can aid in the implementation of effective patient care solutions.
Why go back to normal when we can redesign a better future? I encourage physicians to take the first step in leading the transformation process. Commit to making things better by finding something to improve. Physicians have the power to restructure the health care system, and using the power to shape the future is the best way to prepare for it.
Adapted from: https://postgraduateeducation.hms.harvard.edu/trendsmedicine/ how-physicians-can-prepare-future-health-care
When the author informs that conventional businesses may be “left in the dust”, he means that they may become
Provas
READ THE FOLLOWING TEXT AND ANSWER THE QUESTION
How Physicians Can Prepare for the Future of Health Care
Ted A. James, MD, MHCM May 14, 2021

"Change is the law of life. And those who look only to the past or present are certain to miss the future." — John F. Kennedy
Why is it important for physicians to think about the future of medicine? In almost any endeavor, keeping ahead of the curve is rewarded, while missing the boat is met with peril. In the same way, having foresight into the future of health care can mean the difference between success and failure for physicians and their practices.
Physicians must plan for the future of medicine. We live in a period of tremendous upheaval, and things are unlikely to return to normal anytime soon. The only constant is change, and the ability of physicians to prepare for a changing future has farreaching implications for patients and health care organizations.
Newcomers are currently attempting to shift the clinical landscape to better meet patient care needs. These 'disruptive innovations' may displace those who are unable to adapt to the new trends. The same scenario has repeatedly played out in other markets, with conventional businesses left in the dust as innovators soar to new heights. Therefore, physicians should not only be prepared for the future of medicine, but we should also play a vital role in leading the change.
[…]
Accelerated Digital Health
The pandemic has accelerated the implementation of health care technologies and capabilities, which will radically alter the patient experience and clinical outcomes, paving the way for value-based disruption. The future offers hospital-level care provided to a patient's home at a lower cost and better outcomes using established technology such as remote monitoring. Similarly, AI will advance diagnostic capabilities and clinical decision support at a rapid pace. AI may also aid data mining, resulting in breakthroughs in precision medicine and predictive risk stratification. AI-powered technologies, such as health care chatbots, can allow greater access and timeliness of treatment. Although it is unlikely that digital technology will completely replace doctors anytime soon, physicians and practices who use these technologies may soon replace those who do not.
[…]
Developing a Disruptive Mindset
We must also be prepared to challenge our existing paradigms. Positive disruptive thinking is needed to avoid becoming obsolete. Developing a disruptive mindset requires adopting a positive view of change, never settling for the status quo and a willingness to take a start-up approach to transform health care. It is more than incremental iteration; it is a transformational shift. For example, the progression from records to tapes to CDs represented conventional innovation, while the advent of digital streaming music brought about a disruptive innovation in the music industry.
It is also important to employ 'Design Thinking,' where the patient's experience is considered when developing new health delivery strategies. Redesigning care from the patient's perspective, with their direct input, and incorporating technology to improve patient access and convenience can aid in the implementation of effective patient care solutions.
Why go back to normal when we can redesign a better future? I encourage physicians to take the first step in leading the transformation process. Commit to making things better by finding something to improve. Physicians have the power to restructure the health care system, and using the power to shape the future is the best way to prepare for it.
Adapted from: https://postgraduateeducation.hms.harvard.edu/trendsmedicine/ how-physicians-can-prepare-future-health-care
According to the text, in order to adopt a disruptive mind one must
Provas
READ THE FOLLOWING TEXT AND ANSWER THE QUESTION
How Physicians Can Prepare for the Future of Health Care
Ted A. James, MD, MHCM May 14, 2021

"Change is the law of life. And those who look only to the past or present are certain to miss the future." — John F. Kennedy
Why is it important for physicians to think about the future of medicine? In almost any endeavor, keeping ahead of the curve is rewarded, while missing the boat is met with peril. In the same way, having foresight into the future of health care can mean the difference between success and failure for physicians and their practices.
Physicians must plan for the future of medicine. We live in a period of tremendous upheaval, and things are unlikely to return to normal anytime soon. The only constant is change, and the ability of physicians to prepare for a changing future has farreaching implications for patients and health care organizations.
Newcomers are currently attempting to shift the clinical landscape to better meet patient care needs. These 'disruptive innovations' may displace those who are unable to adapt to the new trends. The same scenario has repeatedly played out in other markets, with conventional businesses left in the dust as innovators soar to new heights. Therefore, physicians should not only be prepared for the future of medicine, but we should also play a vital role in leading the change.
[…]
Accelerated Digital Health
The pandemic has accelerated the implementation of health care technologies and capabilities, which will radically alter the patient experience and clinical outcomes, paving the way for value-based disruption. The future offers hospital-level care provided to a patient's home at a lower cost and better outcomes using established technology such as remote monitoring. Similarly, AI will advance diagnostic capabilities and clinical decision support at a rapid pace. AI may also aid data mining, resulting in breakthroughs in precision medicine and predictive risk stratification. AI-powered technologies, such as health care chatbots, can allow greater access and timeliness of treatment. Although it is unlikely that digital technology will completely replace doctors anytime soon, physicians and practices who use these technologies may soon replace those who do not.
[…]
Developing a Disruptive Mindset
We must also be prepared to challenge our existing paradigms. Positive disruptive thinking is needed to avoid becoming obsolete. Developing a disruptive mindset requires adopting a positive view of change, never settling for the status quo and a willingness to take a start-up approach to transform health care. It is more than incremental iteration; it is a transformational shift. For example, the progression from records to tapes to CDs represented conventional innovation, while the advent of digital streaming music brought about a disruptive innovation in the music industry.
It is also important to employ 'Design Thinking,' where the patient's experience is considered when developing new health delivery strategies. Redesigning care from the patient's perspective, with their direct input, and incorporating technology to improve patient access and convenience can aid in the implementation of effective patient care solutions.
Why go back to normal when we can redesign a better future? I encourage physicians to take the first step in leading the transformation process. Commit to making things better by finding something to improve. Physicians have the power to restructure the health care system, and using the power to shape the future is the best way to prepare for it.
Adapted from: https://postgraduateeducation.hms.harvard.edu/trendsmedicine/ how-physicians-can-prepare-future-health-care
Regarding Artificial Intelligence (AI), the author believes
Provas
READ THE FOLLOWING TEXT AND ANSWER THE QUESTION
How Physicians Can Prepare for the Future of Health Care
Ted A. James, MD, MHCM May 14, 2021

"Change is the law of life. And those who look only to the past or present are certain to miss the future." — John F. Kennedy
Why is it important for physicians to think about the future of medicine? In almost any endeavor, keeping ahead of the curve is rewarded, while missing the boat is met with peril. In the same way, having foresight into the future of health care can mean the difference between success and failure for physicians and their practices.
Physicians must plan for the future of medicine. We live in a period of tremendous upheaval, and things are unlikely to return to normal anytime soon. The only constant is change, and the ability of physicians to prepare for a changing future has farreaching implications for patients and health care organizations.
Newcomers are currently attempting to shift the clinical landscape to better meet patient care needs. These 'disruptive innovations' may displace those who are unable to adapt to the new trends. The same scenario has repeatedly played out in other markets, with conventional businesses left in the dust as innovators soar to new heights. Therefore, physicians should not only be prepared for the future of medicine, but we should also play a vital role in leading the change.
[…]
Accelerated Digital Health
The pandemic has accelerated the implementation of health care technologies and capabilities, which will radically alter the patient experience and clinical outcomes, paving the way for value-based disruption. The future offers hospital-level care provided to a patient's home at a lower cost and better outcomes using established technology such as remote monitoring. Similarly, AI will advance diagnostic capabilities and clinical decision support at a rapid pace. AI may also aid data mining, resulting in breakthroughs in precision medicine and predictive risk stratification. AI-powered technologies, such as health care chatbots, can allow greater access and timeliness of treatment. Although it is unlikely that digital technology will completely replace doctors anytime soon, physicians and practices who use these technologies may soon replace those who do not.
[…]
Developing a Disruptive Mindset
We must also be prepared to challenge our existing paradigms. Positive disruptive thinking is needed to avoid becoming obsolete. Developing a disruptive mindset requires adopting a positive view of change, never settling for the status quo and a willingness to take a start-up approach to transform health care. It is more than incremental iteration; it is a transformational shift. For example, the progression from records to tapes to CDs represented conventional innovation, while the advent of digital streaming music brought about a disruptive innovation in the music industry.
It is also important to employ 'Design Thinking,' where the patient's experience is considered when developing new health delivery strategies. Redesigning care from the patient's perspective, with their direct input, and incorporating technology to improve patient access and convenience can aid in the implementation of effective patient care solutions.
Why go back to normal when we can redesign a better future? I encourage physicians to take the first step in leading the transformation process. Commit to making things better by finding something to improve. Physicians have the power to restructure the health care system, and using the power to shape the future is the best way to prepare for it.
Adapted from: https://postgraduateeducation.hms.harvard.edu/trendsmedicine/ how-physicians-can-prepare-future-health-care
Based on the information provided by the text, mark the statements below as true (T) or false (F).
( ) Success in the profession mentioned depends on the possibility of being aware of forthcoming events.
( ) Physicians should wait for the changes to occur before they make any decisions.
( ) Patients and health care organizations will hardly be affected by physicians’ foresight.
The statements are, respectively:
Provas
Caderno Container