Foram encontradas 100 questões.
Em relação à circunstância expressa pela conjunção subordinativa como, coloque C para correto e E para errado, considerando a classificação feita entre parênteses. Em seguida, assinale a alternativa com a sequência correta.
I- ( ) A audiência será realizada como a lei determina. (comparação)
II- ( ) O tsunami no Japão ocorreu como os cientistas haviam previsto. (causa)
III- ( ) Como o aluno havia estudado, obteve bom resultado no concurso. (causa)
IV- ( ) Como a maioria dos alunos não havia entendido o conteúdo, o professor explicou-o novamente. (conformidade)
Provas
Questão presente nas seguintes provas
Determine a velocidade de rotação de um motor de indução que opera com um escorregamento de 3%, dado que sua velocidade de campo magnético rotativo é de 1800 rpm. Em seguida, assinale a alternativa correta.
Provas
Questão presente nas seguintes provas
De acordo com a norma brasileira NBR 5410/2004, quantos condutores carregados existem em um circuito de corrente alternada monofásico a 3 condutores?
Provas
Questão presente nas seguintes provas
Sobre a permeabilidade relativa de materiais magnéticos, pode-se afirmar que
Provas
Questão presente nas seguintes provas
A respeito de transformadores, avalie se as afirmações abaixo são verdadeiras (V) ou falsas (F) e assinale a alternativa que apresenta a sequência correta.
( ) As perdas por correntes parasitas são denominadas perdas no cobre e correspondem à potência total perdida nos enrolamentos primário e secundário do transformador.
( ) A perda por histerese representa uma parcela das perdas que ocorrem no núcleo de um transformador.
( ) A perda no cobre dos dois enrolamentos pode ser medida por meio de um wattímetro. O wattímetro é inserido no circuito do primário do transformador enquanto o secundário é aberto.
Provas
Questão presente nas seguintes provas
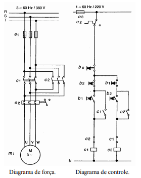
Observe os diagramas abaixo:

Esses diagramas referem-se à
Provas
Questão presente nas seguintes provas
Assinale a alternativa em que a frase não condiz com o tipo de voz verbal mencionado.
Provas
Questão presente nas seguintes provas
Otimismo
O otimismo é o vinho tinto das emoções. Uma ou duas taças por dia fazem um bem enorme. Duas garrafas arruínam a pessoa. A diferença do volume da bebida ilustra os dois tipos de otimismo, o racional, uma das conquistas evolutivas mais preciosas da espécie, e o irracional, a fonte de grandes tragédias históricas e fracassos pessoais. A média das mais amplas pesquisas já conduzidas sobre o tema revela que cerca de 80% das pessoas são otimistas. Essa é a parcela da humanidade capaz de enxergar o copo meio cheio. A outra parcela, a minoria, cuja mente vê o mesmo copo meio vazio, tem uma única vantagem sobre a maioria, pois, como diz o ditado, “o pessimista só tem boas surpresas”.
Os otimistas têm más surpresas e são capazes de assimilá-las e transformar o azedume em doce limonada. Eles vivem mais e têm maior resistência às doenças. Quando presos a um leito de hospital, são eles que têm maior chance de cura. Essas pessoas ousam mais, poupam mais e aposentam-se mais tarde. Se a consciência da morte torna o pessimismo inerente à condição humana, o instinto vital se alimenta do otimismo para que a ideia da finitude não nos enlouqueça.
As pessoas mais interessantes são os otimistas com os pés bem plantados no chão. São os arquitetos do futuro, que tomam uma ou mais taças diárias do vinho da ousadia. São as personalidades com um olho nas lições do passado e o outro nas questões do presente e nos desafios do futuro. São, ao mesmo tempo, raízes e asas. Ilusão e realidade.
(Revista Veja, 23 de janeiro de 2013 – texto adaptado)
O pessimista só tem boas surpresas porque ele
Provas
Questão presente nas seguintes provas
Um circuito passivo possui uma impedância equivalente de Z = 3 + j3 conectada a uma tensão v(t) = 48 cos (120 !$ \pi !$ t+ 45º). Calcule o módulo da corrente eficaz nessa impedância. Em seguida, assinale a alternativa correta.
Provas
Questão presente nas seguintes provas
As frases das alternativas abaixo compõem um trecho de um poema de Drummond. Assinale a única que contém pronome.
Provas
Questão presente nas seguintes provas
Cadernos
Caderno Container