Magna Concursos

Foram encontradas 100 questões.

4077439 Ano: 2014
Disciplina: Engenharia Mecânica
Banca: IDECAN
Orgão: CNEN
Provas:

A partir dos princípios da geometria descritiva, as normas de desenho técnico fixaram a utilização das projeções ortogonais para representar formas espaciais, utilizando os rebatimentos de qualquer um dos quatro diedros. A ABNT fixa a forma de representação aplicada em desenho técnico apenas nos diedros

 

Provas

Questão presente nas seguintes provas
4077438 Ano: 2014
Disciplina: Engenharia Mecânica
Banca: IDECAN
Orgão: CNEN
Provas:

Os rolamentos constituem tradicionalmente a melhor maneira de diminuir o atrito entre duas superfícies. A figura a seguir representa qual tipo de rolamento?

Enunciado 4411230-1

 

Provas

Questão presente nas seguintes provas
4077437 Ano: 2014
Disciplina: Engenharia Mecânica
Banca: IDECAN
Orgão: CNEN
Provas:

As marcas de resistência, que indicam o tipo de material, são visíveis na cabeça de alguns parafusos sextavados. Os parafusos classificam-se em parafusos normais e de alta tensão, de acordo com os tipos de materiais utilizados. O número 5.8 marcado na cabeça de um parafuso fabricado em aço-carbono indica

 

Provas

Questão presente nas seguintes provas
4077436 Ano: 2014
Disciplina: Engenharia Mecânica
Banca: IDECAN
Orgão: CNEN
Provas:

Na especificação da rosca Whitworth, o ângulo dos filetes é de

 

Provas

Questão presente nas seguintes provas
4077435 Ano: 2014
Disciplina: Engenharia Mecânica
Banca: IDECAN
Orgão: CNEN
Provas:

Na especificação da rosca métrica ISO para uso geral, o ângulo dos filetes é de

 

Provas

Questão presente nas seguintes provas
4077434 Ano: 2014
Disciplina: Engenharia Mecânica
Banca: IDECAN
Orgão: CNEN
Provas:

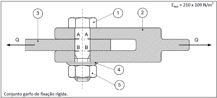
Observe a haste de um braço pneumático, conforme figura a seguir, e considere que, quando acionado, provoque uma carga Q com intensidade de 6 KN, e, ainda, que não haja rosca no parafuso na região de cisalhamento indicada nas secções AA e BB.

Enunciado 4411226-1

 

Considere:

 

1. Parafuso sextavado M12.

2. Garfo com haste de espessura de 6 mm.

3. Arruela de pressão.

4. Chapa de aço ABNT 1020 espessura de 8 mm. 5. Porca M12.

 

Conforme as informações anteriores, a tensão de cisalhamento atuante é de

 

Provas

Questão presente nas seguintes provas
4077433 Ano: 2014
Disciplina: Engenharia Mecânica
Banca: IDECAN
Orgão: CNEN
Provas:

De acordo com as especificações técnicas de rolamentos, relacione adequadamente as figuras às respectivas descrições.

Enunciado 4411225-1

 

( ) Rolamento axial de esferas de escora simples com arruela da caixa de mancal plana.

( ) Rolamento axial de esferas de contato angular de escora simples e projeto básico simples.

( ) Rolamento axial de esferas de contato angular de escora dupla e projeto básico.

( ) Rolamento autocompensadores de esferas com um furo cilíndrico projeto básico aberto.

 

A sequência está correta em

 

Provas

Questão presente nas seguintes provas
4077432 Ano: 2014
Disciplina: Engenharia Mecânica
Banca: IDECAN
Orgão: CNEN
Provas:

Sobre as principais razões para determinação do procedimento de aplicação de pré-carga ao rolamento, marque V para as afirmativas verdadeiras e F para as falsas.

 

( ) Aumentar a rigidez (em kN/μm) que é definida como a relação da força atuante.

( ) Reduzir o ruído do giro, aumentando a folga operacional em um rolamento.

( ) A pré-carga restringe a capacidade do eixo de se inclinar com a carga.

( ) Compensar os processos de desgaste e acomodação em funcionamento.

 

A sequência está correta em

 

Provas

Questão presente nas seguintes provas
4077431 Ano: 2014
Disciplina: Engenharia Mecânica
Banca: IDECAN
Orgão: CNEN
Provas:

Duas barras de aço serão unidas por meio de rebite(s) para sofrerem esforços axiais de tração. O mercado dispõe de vários tipos de rebites, no entanto, para esta aplicação foram disponibilizados quatro tipos, conforme quadro a seguir:

Rebites Diâmetro da seção em mm Área da seção em mm2
Tipo R1 3,175 7,90
Tipo R2 6,350 31,67
Tipo R3 12,70 126,68
Tipo R4 25,40 506,71

Assinale a melhor formatação no que se refere a suportar o maior esforço de tração axial.

(Considere: dimensões da barra 400 x 30 x 4, valores em mm.)

 

Provas

Questão presente nas seguintes provas
4077430 Ano: 2014
Disciplina: Engenharia Mecânica
Banca: IDECAN
Orgão: CNEN
Provas:

A norma NBR 6158 fixa o conjunto de princípios, regras e tabelas que se aplicam à tecnologia mecânica, a fim de permitir uma escolha racional de tolerâncias e ajustes, visando a fabricação de peças intercambiáveis. O ajuste é a relação resultante da diferença, antes da montagem, entre as dimensões dos dois elementos a serem montados. Assinale a alternativa que apresenta um ajuste de eixo com folga.

 

Provas

Questão presente nas seguintes provas