Foram encontradas 50 questões.
Qual é a faixa de frequência de um sinal VHF?
Provas
Questão presente nas seguintes provas
Na tabela a seguir, são apresentados os números de referência nas respectivas bases numéricas. Identifique entre as alternativas aquela que mostra quais das linhas (F1, F2, F3 e F4) da tabela apresentam as conversões de números para diferentes bases numéricas totalmente verdadeiras (V) ou falsas (F).


Provas
Questão presente nas seguintes provas
Qual é o erro de estado permanente do diagrama de blocos das questões de números 31 e 32 se F(s) = 1 e a entrada R(s) é a função degrau unitário?
Provas
Questão presente nas seguintes provas
No circuito de amplificadores operacionais a seguir, qual é o valor da tensão de saída 



Provas
Questão presente nas seguintes provas
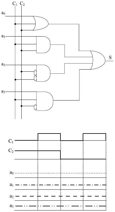
Considerando o circuito digital a seguir, com as formas de onda de entrada representadas, identifique a forma de onda da saída S.


Provas
Questão presente nas seguintes provas
Qual é a tabela-verdade correta para uma porta lógica tipo OU com entradas A e B e saída C?
Provas
Questão presente nas seguintes provas
O acumulador, na estrutura de um microprocessador, tem a função de
Provas
Questão presente nas seguintes provas
Dado o sinal
!$ s(t)=7-10cos(40\pi t-60º)+4sen(120\pi)t !$
cuja forma de onda é

determine qual das seguintes figuras reflete o espectro de frequência (amplitude e fase).
Provas
Questão presente nas seguintes provas
Quais são os componentes de um computador que usa arquitetura de von Neumann?
Provas
Questão presente nas seguintes provas
Qual é a tensão de saída
do circuito mostrado?

do circuito mostrado?
Provas
Questão presente nas seguintes provas
Cadernos
Caderno Container