Magna Concursos

Foram encontradas 1.972 questões.

459686 Ano: 2005
Disciplina: Biologia
Banca: CESPE / CEBRASPE
Orgão: CESAN

Um relatório a respeito de um manancial de águas contém a seguinte referência: A análise microbiológica da água apresenta contaminação por bactérias heterotróficas aeróbias, gram-negativas. Em relação às características físico-químicas, apresenta cor e turbidez normais, dureza temporária, presença de nitritos em concentrações elevadas e alcalinidade normal. Considerando tal situação, julgue os seguintes itens.

Bactérias são microrganismos unicelulares procariontes.

 

Provas

Questão presente nas seguintes provas

Todo instrumento de medição tem características internas relacionadas ao tipo de material usado na sua fabricação, à precisão e às tolerâncias adotadas na sua fabricação e à capacidade do instrumento de sofrer influências do meio ambiente. Assim, dependendo dessas condições, um instrumento de medição sempre está sujeito a uma série de erros. A respeito dos erros inerentes a uma medição e das características que induzem erros em medições, julgue os itens subseqüentes.

Um dos objetivos da calibração de instrumentos com o uso de padrões de medição é a eliminação de erros sistemáticos.

 

Provas

Questão presente nas seguintes provas

Todo instrumento de medição tem características internas relacionadas ao tipo de material usado na sua fabricação, à precisão e às tolerâncias adotadas na sua fabricação e à capacidade do instrumento de sofrer influências do meio ambiente. Assim, dependendo dessas condições, um instrumento de medição sempre está sujeito a uma série de erros. A respeito dos erros inerentes a uma medição e das características que induzem erros em medições, julgue os itens subseqüentes.

Em uma medição com uso do micrômetro, é importante sempre retornar o tambor a uma medida maior e fechar o micrômetro com a catraca. Essa operação visa reduzir os erros causados pela histerese.

 

Provas

Questão presente nas seguintes provas

Todo instrumento de medição tem características internas relacionadas ao tipo de material usado na sua fabricação, à precisão e às tolerâncias adotadas na sua fabricação e à capacidade do instrumento de sofrer influências do meio ambiente. Assim, dependendo dessas condições, um instrumento de medição sempre está sujeito a uma série de erros. A respeito dos erros inerentes a uma medição e das características que induzem erros em medições, julgue os itens subseqüentes.

O erro aleatório, que está ligado a variações temporais, pode ser reduzido se for aumentado o número de observações.

 

Provas

Questão presente nas seguintes provas

Todo instrumento de medição tem características internas relacionadas ao tipo de material usado na sua fabricação, à precisão e às tolerâncias adotadas na sua fabricação e à capacidade do instrumento de sofrer influências do meio ambiente. Assim, dependendo dessas condições, um instrumento de medição sempre está sujeito a uma série de erros. A respeito dos erros inerentes a uma medição e das características que induzem erros em medições, julgue os itens subseqüentes.

A grandeza a ser medida e a mensurável caracterizam dois componentes diferentes de uma medição.

 

Provas

Questão presente nas seguintes provas

Todo instrumento de medição tem características internas relacionadas ao tipo de material usado na sua fabricação, à precisão e às tolerâncias adotadas na sua fabricação e à capacidade do instrumento de sofrer influências do meio ambiente. Assim, dependendo dessas condições, um instrumento de medição sempre está sujeito a uma série de erros. A respeito dos erros inerentes a uma medição e das características que induzem erros em medições, julgue os itens subseqüentes.

No resultado de uma medição, a incerteza expressa por meio de um desvio-padrão é denominada incerteza padronizada.

 

Provas

Questão presente nas seguintes provas

enunciado 459675-1

Os dois conjuntos motobomba enunciado 459675-2 mostrados na figura acima foram montados em fábrica em uma base e estão com problemas de alinhamento na luva elástica. Com relação ao alinhamento necessário ao bom funcionamento dos conjuntos motobomba e aos componentes envolvidos, julgue os seguintes itens.

No conjuntoenunciado 459675-3 , observa-se uma distância de face da luva elástica. Essa distância deve ter tolerância máxima entre 1 mm e 2 mm, e esse valor deve ser o mesmo em toda a circunferência da luva.

 

Provas

Questão presente nas seguintes provas

enunciado 459674-1

Os dois conjuntos motobomba enunciado 459674-2 mostrados na figura acima foram montados em fábrica em uma base e estão com problemas de alinhamento na luva elástica. Com relação ao alinhamento necessário ao bom funcionamento dos conjuntos motobomba e aos componentes envolvidos, julgue os seguintes itens.

Na partida e na parada do motor, a luva elástica absorve e diminui os golpes na bomba.

 

Provas

Questão presente nas seguintes provas

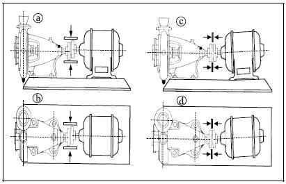
enunciado 459673-1

Os dois conjuntos motobomba enunciado 459673-2 mostrados na figura acima foram montados em fábrica em uma base e estão com problemas de alinhamento na luva elástica. Com relação ao alinhamento necessário ao bom funcionamento dos conjuntos motobomba e aos componentes envolvidos, julgue os seguintes itens.

O desalinhamento mostrado emenunciado 459673-3 não prejudica o funcionamento do conjunto motobomba, enquanto o mostrado em enunciado 459673-4 não permite o funcionamento do conjunto.

 

Provas

Questão presente nas seguintes provas

enunciado 459672-1

Os dois conjuntos motobomba enunciado 459672-2 mostrados na figura acima foram montados em fábrica em uma base e estão com problemas de alinhamento na luva elástica. Com relação ao alinhamento necessário ao bom funcionamento dos conjuntos motobomba e aos componentes envolvidos, julgue os seguintes itens.

Ao se colocar uma régua nas faces da luva elástica, como mostrado no conjuntoenunciado 459672-3 ,distância máxima entre dois pontos da circunferência da luva e a face que não toca na régua deve ser de 2 mm.

 

Provas

Questão presente nas seguintes provas