Foram encontradas 50 questões.
Os instrumentos ópticos, muito utilizados em nosso
cotidiano, estão presentes em óculos, câmeras
fotográficas, telescópios, microscópios e até no olho
humano. Alguns componentes ópticos devem ser
utilizados com cautela, pois, quando estão em ambiente
que recebem radiação solar, podem apresentar risco de
incêndio, como quando próximo a vegetação seca.
Os componentes que mais apresentam risco de incêndio
espontâneo são as lentes
Provas
Questão presente nas seguintes provas
Na maioria das vezes, a água pode ser utilizada para
evitar incêndios. Entretanto, nem todos os tipos de
incêndio podem ser apagados com água.
Uma propriedade física importante da água e que
contribui para a utilização dela como meio para se evitar
incêndios é a(o)
Provas
Questão presente nas seguintes provas

Provas
Questão presente nas seguintes provas
O Sol é a maior fonte de energia para a Terra e,
juntamente com sua luz, recebe-se outras ondas, como
o infravermelho e o ultravioleta.
Tais ondas são classificadas quanto à sua natureza e à
sua direção de vibração, respectivamente, como
Provas
Questão presente nas seguintes provas
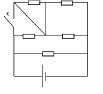
Considere que um garoto desce um rio em uma pequena jangada cujas águas possuem velocidade constante de 10 km/h em todos os pontos e que esse garoto precisa ser resgatado. A equipe de salvamento do Corpo de Bombeiros Militar fará o resgate em um barco cuja velocidade própria é de 50 km/h. Analise a imagem a seguir.

Enquanto não chega à jangada, e para resgatar o garoto sem variar a direção da proa do barco, o vetor velocidade desse barco deverá apontar para o sentido
Provas
Questão presente nas seguintes provas
Em operações de resgate às parturientes, observa-se a
ruptura da bolsa d’água.
Essa estrutura corresponde ao anexo embrionário
Provas
Questão presente nas seguintes provas
Em potes de palmito, ou outras conservas, ainda que
apresentem aparência normal, podem se encontrar
toxinas altamente tóxicas que levam ao óbito. Para se
inativar essas toxinas, recomenda-se ferver os potes e
as latas por pelo menos 20 minutos, antes de consumir
seus produtos.
A toxina presente nesses produtos causa a doença
conhecida como
Provas
Questão presente nas seguintes provas
Analise a seguir o Artigo 27 do Regulamento de Uniformes e Insígnias do Corpo de Bombeiros Militar do estado do Espírito Santo.

Provas
Questão presente nas seguintes provas
A ocorrência de incêndios no Cerrado pode se dar
por causas naturais, combustão espontânea, alta
temperatura, descargas elétricas e atrito entre rochas.
Entre outros fatores, esse fogo natural está relacionado
ao aspecto retorcido da vegetação do Cerrado.
Esses fenômenos sazonais são fundamentais para
ecologia do Cerrado pois
Provas
Questão presente nas seguintes provas
São gases causadores do processo conhecido como
narcose do mergulhador, que pode levar a retardo dos
movimentos, convulsões e morte por afogamento,
Provas
Questão presente nas seguintes provas
Cadernos
Caderno Container