Foram encontradas 783 questões.
Com base em normas internacionais, a
simbologia da pneumática foi padronizada
no Brasil pela ABNT. O símbolo a seguir
representa


Provas
Questão presente nas seguintes provas
O aparelho divisor é um acessório da
fresadora. Com ele, é possível fazer divisões
em peças, dentes de engrenagens, dentre
outras operações. Foi solicitado pela
empresa que seja realizada a fresagem de um
sextavado em um tarugo cilíndrico, conforme
evidencia o desenho a seguir. A profundidade
a ser fresada em mm é


Provas
Questão presente nas seguintes provas
Considerando o seguinte trem de
engrenagens, sabendo que a rotação inicial
é 1350 rpm, Z1=30 dentes, Z2=60, Z3= 45 e
Z4= 80, a rotação final do sistema em rpm é


Provas
Questão presente nas seguintes provas
Em uma determinada situação no setor de manutenção da CASAN, houve a necessidade de se fabricar uma peça no torno, conforme evidencia o desenho a seguir, e o torneiro está com dificuldades em saber em qual ângulo ele deve posicionar o cabeçote do torno para tornear o detalhe. Após os cálculos, o ângulo em que o torneiro deve posicionar o cabeçote é

Provas
Questão presente nas seguintes provas
Um mecânico utilizou um grifo para rosquear
um tubo em uma tubulação, conforme
evidencia o desenho a seguir. A intensidade
da força F, quando aplicada uma carga de 60
N no grifo, para aperto, é


Provas
Questão presente nas seguintes provas
O movimento apresentado na figura a seguir no processo de fresamento, é o movimento

Provas
Questão presente nas seguintes provas
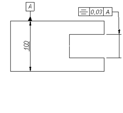
A tolerância apresentada na figura a seguir é
comumente utilizada em rasgos de chaveta
em eixo. O significado é


Provas
Questão presente nas seguintes provas
A tolerância apresentada na figura a seguir significa

Provas
Questão presente nas seguintes provas
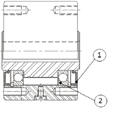
A figura a seguir representa uma vista de um
projeto mecânico em corte. Os itens 01 e 02
são, respectivamente:


Provas
Questão presente nas seguintes provas
Duas chapas de um equipamento estão
unidas por um rebite com diâmetro de 20 mm.
Ele está submetido a um esforço cortante
de 20.000 N, proveniente de um estirante. A
tensão de cisalhamento a que o rebite está
submetido, em Mpa, é aproximadamente
Provas
Questão presente nas seguintes provas
Cadernos
Caderno Container