Foram encontradas 1.411 questões.
O fluxo de calor na convecção é determinado pela equação
q = h.A.(Tsuperfície – Tfluido).
A constante h corresponde ao coeficiente de
Provas
A equação que representa o fluxo de calor (q) por condução em uma parede plana, quando a constante de condutibilidade, K(T), varia linearmente com a temperatura é
Provas

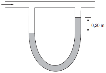
O esquema acima indica um manômetro de água empregado para medir a diferença de pressão entre 2 pontos de uma tubulação que transporta uma mistura de hidrocarbonetos !$ (\rho_H = 800 kg/m^3) !$. A diferença de pressão indicada, em KPa, é igual a
Provas

O gráfico acima retrata a solubilização de partículas sólidas, de tamanho uniforme (d = 240 µm), em uma solução. Apresenta tanto a conversão alcançada em função do tempo como uma função dessa conversão, definida por 1−(1−X)1/3. Mantidas todas as demais condições operacionais, o tempo necessário, em horas, para a completa dissolução de partículas de 180 µm é de
Provas
Uma reação de primeira ordem ocorre em um reator de mistura, com capacidade de 400 L, operando isotermicamente e sem variação de volume. A conversão alcançada é de 50%. Qual o volume, em L, requerido por um reator tubular para que seja atingido o mesmo grau de conversão?
Provas

O gráfico acima foi obtido utlizando-se o método B.E.T. para medida da superfície específica de uma amostra de 1,0 g de níquel Raney. Empregou-se N2 em seu ponto de ebulição, para o qual o fator de proporcionalidade entre a área e o volume adsorvido é 4.350 m2/L. Qual a superfície específica estimada para esse catalisador, em m2/g?
Provas

O gráfico acima descreve a concentração de um reagente A, em função do tempo. Qual a ordem dessa reação, em relação a A?
Provas
A constante de velocidade de uma reação foi medida em duas temperaturas diferentes, como se indica na tabela abaixo.
| k (min−1) |
T (K) |
| 0,10 |
273 |
| 0,27 |
300 |
Qual a energia de ativação estimada para essa reação, em KJ.mol−1 ?
(R = 8J.mol−1.K−1)
Provas
Qual a estimativa de carga positiva de sucção (NPSH), em metros de coluna de água, disponível na entrada de uma bomba centrífuga flutuante, operando no nível do mar, para transferência de água a 80 ºC (pressão de vapor = 47 KPa)?
Provas
Utilize o gráfico a seguir para responder à questão.

De acordo com o gráfico, qual a vazão estimada, em m3/H, caso se reduza a velocidade de rotação da bomba em 10%?
Provas
Caderno Container