Foram encontradas 420 questões.

(Solon de Medeiros Filho. Medição de energia elétrica.
3ª ed. Rio de Janeiro: Guanabara, 1986, p. 279, com adaptações)
A figura acima mostra uma carga trifásica “Z” alimentada a três fios, em alta tensão, por uma fonte trifásica com sua respectiva medição de energia elétrica, realizada por meio de um medidor do tipo indução de dois elementos com a utilização de transformadores para instrumentos. A respeito dessa situação, assinale a opção correta.
Provas

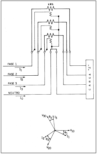
(Solon de Medeiros Filho. Medição de energia elétrica.
3ª ed. Rio de Janeiro: Guanabara, 1986, p. 266, com adaptações)
A figura acima mostra uma carga trifásica “Z” alimentada a quatro fios por uma fonte trifásica equilibrada com sua respectiva medição de energia elétrica, realizada por meio de um medidor do tipo indução de três elementos, e o diagrama fasorial correspondente à situação descrita. A respeito dessa situação, assinale a opção incorreta.
Provas

Provas
Um modelo computacional de otimização para um sistema hidrotérmico deve ser desenvolvido para se definirem as parcelas ótimas de utilização dos recursos hidráulicos e térmicos na operação do sistema a cada mês. O objetivo é minimizar os custos de operação no horizonte de estudo e utilizar o comportamento das afluências, com vistas a uma análise probabilística. Acerca desse assunto, assinale a opção incorreta.
Provas
Provas
Provas
Provas
Provas
Provas
Disciplina: Legislação Específica das Agências Reguladoras
Banca: ESAF
Orgão: ANEEL
As atividades de coordenação e de controle da operação da geração e da transmissão de energia elétrica do sistema interligado nacional (SIN), visando promover a otimização da operação do sistema eletroenergético, são realizadas pelo(a)
Provas
Caderno Container