Foram encontradas 1.443 questões.
No nível do mar uma das respostas à incidência de ondas de gravidade na linha de costa é o wave setup ou o wave setdown. Marque a opção correta com relação a esse fenômeno.
Provas
Com relação a um dos termos da equação do movimento conhecido como força de Coriolis, é correto afirmar que
Provas
Qual propriedade da água do mar não é calculada em função da pressão hidrostática?
Provas
A fisiografia do fundo marinho é resultado de processos geológicos e apresenta particularidades ao longo da costa, principalmente em países de grandes extensões como o Brasil. Com relação aos elementos que formam esta fisiografia, a unidade de transição entre o continente emerso e o assoalho oceânico que contém três províncias bem individualizadas é
Provas
Assinale a opção que completa corretamente as lacunas da sentença abaixo.
A associada às inversões de polaridade do campo magnético corrobora a teoria da tectônica de placas, pois serve de evidência para justificar o espalhamento oceânico a partir do eixo da .
Provas
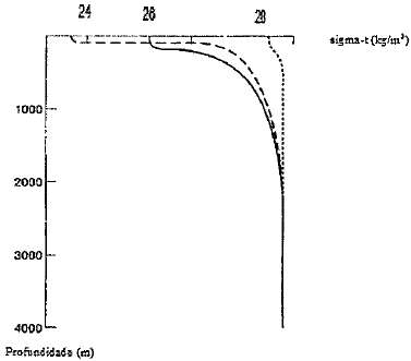
Na figura abaixo estão representados perfis verticais de sigma-t.

Quais são as regiões que os perfis com linha contínua, tracejada e com pontos representam, respectivamente?
Provas
Assinale a opção que apresenta todas as variáveis que devem ser obtidas para calcular o transporte de sedimentos em suspensão através de uma seção transversal a um estuário.
Provas
Gradientes horizontais de salinidade prática, no Sistema Internacional de Unidades (SI), são expressos em
Provas
A magnetosfera é uma região com forma característica assimétrica em relação à Terra (forma de gota). Essa assimetria deve-se principalmente à
Provas
Qual das opções abaixo apresenta uma característica determinante da Agua Modal Subtropical do Atlântico Sul?
Provas
Caderno Container