Foram encontradas 3.470 questões.

Provas
Questão presente nas seguintes provas

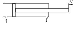
Em uma viga biapoiada, sujeita a uma carga concentrada posicionada de modo que a > b, conforme a figura acima, a reação no apoio A é
Provas
Questão presente nas seguintes provas

Provas
Questão presente nas seguintes provas

Provas
Questão presente nas seguintes provas

Provas
Questão presente nas seguintes provas

Provas
Questão presente nas seguintes provas

Provas
Questão presente nas seguintes provas

Provas
Questão presente nas seguintes provas

Provas
Questão presente nas seguintes provas
Um ensaio foi planejado para avaliar a resistência ao impacto de um aço carbono 1020 usado em um equipamento de laboratório. Foi retirada uma amostra do material e construído um corpo de prova para realizar um ensaio Charpy em temperatura ambiente. De posse do resultado, o técnico observou que o aço deveria ser usado em baixas temperaturas, abaixo de zero grau Celsius, além de submetido a cargas de impacto.
Conclui-se das informações apresentadas acima que a utilização desse aço em baixa temperatura
Provas
Questão presente nas seguintes provas
Cadernos
Caderno Container