Magna Concursos

Foram encontradas 3.470 questões.

416080 Ano: 2012
Disciplina: Mecânica
Banca: CESGRANRIO
Orgão: Innova
Nos ensaios não destrutivos para inspeção automatizada de tubos de perfuração e produção, deve existir uma relação entre as velocidades de inspeção e de calibração.

Essa relação deve ser feita de modo que a velocidade de inspeção seja
 

Provas

Questão presente nas seguintes provas
416079 Ano: 2012
Disciplina: Mecânica
Banca: CESGRANRIO
Orgão: Innova
O grau de concordância entre os resultados das medições de um mesmo mensurando, efetuadas sob condições variadas de medição, é conhecido como
 

Provas

Questão presente nas seguintes provas
416078 Ano: 2012
Disciplina: Mecânica
Banca: CESGRANRIO
Orgão: Innova
As trincas na forma de defeitos planares de reduzida espessura e agudos são consideradas severos concentradores de tensões.

Quanto à capacidade de detecção dessas trincas pelos ensaios não destrutivos, pode-se verificar que o ensaio por
 

Provas

Questão presente nas seguintes provas
416077 Ano: 2012
Disciplina: Mecânica
Banca: CESGRANRIO
Orgão: Innova
Quer-se confeccionar um eixo ⌀102 mm p7. O valor numérico do grau de tolerância-padrão para dimensões nominais entre 80 mm e 120 mm é igual a 35 µm, e o valor numérico do afastamento fundamental para eixos entre 100 mm e 120 mm é de 37 µm.

Os diâmetros mínimo e máximo do eixo, em milímetros, são, respectivamente,
 

Provas

Questão presente nas seguintes provas
416076 Ano: 2012
Disciplina: Mecânica
Banca: CESGRANRIO
Orgão: Innova
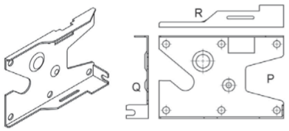
Enunciado 416076-1

A Figura acima e à esquerda representa uma base de fixação de uma peça, em vista isométrica, no primeiro diedro.

As vistas projetadas P, Q e R são, respectivamente, no primeiro diedro, as vistas
 

Provas

Questão presente nas seguintes provas
416075 Ano: 2012
Disciplina: Mecânica
Banca: CESGRANRIO
Orgão: Innova
Os aços inoxidáveis martensíticos caracterizam-se por serem aços-cromo e endurecerem pela têmpera.
Apresentam boa resistência à corrosão, quando expostos ao tempo, à ação da água e de certas substâncias químicas.

Em relação a esses aços, pode-se dizer, ainda, que
 

Provas

Questão presente nas seguintes provas
416074 Ano: 2012
Disciplina: Mecânica
Banca: CESGRANRIO
Orgão: Innova
As graxas apresentam pontos de gota bastante distintos, uma vez que dependem do agente engrossador. O ponto de gota indica a temperatura em que o produto se torna fluido, capaz de gotejar através de um orifício padronizado, sob determinadas condições.

Com relação aos respectivos pontos de gota, da temperatura mais baixa para a mais alta, têm-se as seguintes graxas:
 

Provas

Questão presente nas seguintes provas
416073 Ano: 2012
Disciplina: Mecânica
Banca: CESGRANRIO
Orgão: Innova
Enunciado 416073-1

As colunas 1 e 2 da estrutura mostrada na Figura acima sustentam, respectivamente, as cargas R1 e R2 provenientes do carregamento concentrado F.

Para garantir o equilíbrio da estrutura, a relação entre as cargas atuantes nas colunas, R1 / R2 , vale
 

Provas

Questão presente nas seguintes provas
416072 Ano: 2012
Disciplina: Mecânica
Banca: CESGRANRIO
Orgão: Innova
Enunciado 416072-1

O nível d’água do reservatório mostrado na Figura acima, está relacionado à deformação circunferencial na base do reservatório através da expressão h = 4.000 ε, sendo a altura h expressa em metros, e a deformação ε, em mícrons.

Se o reservatório possui um diâmetro de 1,0 m, e a deformação medida for de 1.000µ, o volume de água no reservatório, em m3 , está na faixa de
 

Provas

Questão presente nas seguintes provas
416071 Ano: 2012
Disciplina: Mecânica
Banca: CESGRANRIO
Orgão: Innova
As tintas utilizadas em pintura industrial apresentam constituintes considerados básicos e eventuais, os quais são incorporados apenas a alguns tipos de tintas, para conferir propriedades especiais.

Quanto à função desses constituintes, pode-se verificar que a(o)
 

Provas

Questão presente nas seguintes provas