Magna Concursos

Foram encontradas 3.470 questões.

827083 Ano: 2014
Disciplina: Mecânica
Banca: CETRO
Orgão: IF-PR
Provas:
Leia o trecho abaixo e, em seguida, assinale a alternativa que preenche corretamente a lacuna.
O(A) _____________ é um material metálico não ferroso.
 

Provas

Questão presente nas seguintes provas
763040 Ano: 2014
Disciplina: Mecânica
Banca: VUNESP
Orgão: SAAE-São Carlos-SP
Observe a figura.

enunciado 763040-1

As rótulas do cilindro de levantamento das lâminas devem ser lubrificadas com graxa sob pressão, a cada
 

Provas

Questão presente nas seguintes provas
763039 Ano: 2014
Disciplina: Mecânica
Banca: VUNESP
Orgão: SAAE-São Carlos-SP
As alavancas da figura a seguir acionam os implementos da motoniveladora.

enunciado 763039-1

Esses implementos atuam por meio de um sistema
 

Provas

Questão presente nas seguintes provas
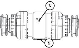
763038 Ano: 2014
Disciplina: Mecânica
Banca: VUNESP
Orgão: SAAE-São Carlos-SP
A figura apresenta o eixo traseiro da motoniveladora.

enunciado 763038-1

As letras X e Y correspondem, correta e respectivamente a
 

Provas

Questão presente nas seguintes provas
763037 Ano: 2014
Disciplina: Mecânica
Banca: VUNESP
Orgão: SAAE-São Carlos-SP
Observe a ilustração.

enunciado 763037-1

Essa figura apresenta a manutenção preventiva realizada com jato de ar pressurizado no sistema de
 

Provas

Questão presente nas seguintes provas
651185 Ano: 2014
Disciplina: Mecânica
Banca: CESGRANRIO
Orgão: Petrobrás
enunciado 651185-1

O anel de vedação mostrado na Figura acima possui 7 furos passantes distribuídos ao longo de sua circunferência, todos com 12 mm de diâmetro.

A forma de escrever a cota P mostrada no desenho é
 

Provas

Questão presente nas seguintes provas
651184 Ano: 2014
Disciplina: Mecânica
Banca: CESGRANRIO
Orgão: Petrobrás
Um conjunto habitacional de 350 casas possui um con- sumo médio diário de 100 litros de água, por cada casa.

Qual a ordem de grandeza do volume de água, em mtros cúbicos, que deve ser bombeado para o conjunto, de modo a abastecer o total de casas por um dia?
 

Provas

Questão presente nas seguintes provas
651183 Ano: 2014
Disciplina: Mecânica
Banca: CESGRANRIO
Orgão: Petrobrás
Considere o circuito hidráulico ilustrado abaixo.

enunciado 651183-1
O componente X desse circuito hidráulico é um(a)
 

Provas

Questão presente nas seguintes provas
651182 Ano: 2014
Disciplina: Mecânica
Banca: CESGRANRIO
Orgão: Petrobrás
O circuito hidráulico mostrado na Figura abaixo possui um controle de velocidade para o atuador linear de dupla ação.

Enunciado 651182-1
Esse controle é realizado pela válvula de controle de fluxo quando a haste se move para a:
 

Provas

Questão presente nas seguintes provas
651181 Ano: 2014
Disciplina: Mecânica
Banca: CESGRANRIO
Orgão: Petrobrás
Três medições realizadas em um laboratório apresentaram os seguintes resultados: 23,507 mm, 0,00045 mm e 98,300 mm.

Quantos algarismos significativos possuem, respectivamente, esses números?
 

Provas

Questão presente nas seguintes provas