Magna Concursos

Foram encontradas 3.470 questões.

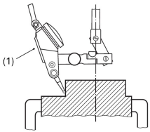
3686636 Ano: 2025
Disciplina: Mecânica
Banca: FGV
Orgão: Pref. Canaã Carajás-PA
A figura a seguir ilustra a aplicação de um instrumento na medição do alinhamento de uma peça em uma máquina.
Enunciado 4373598-1
O instrumento (1) é conhecido como
 

Provas

Questão presente nas seguintes provas
3686635 Ano: 2025
Disciplina: Mecânica
Banca: FGV
Orgão: Pref. Canaã Carajás-PA
A figura a seguir apresenta a leitura realizada em um paquímetro com escala em milímetros.
Enunciado 4373597-1
A medida desse paquímetro é:
 

Provas

Questão presente nas seguintes provas
3686634 Ano: 2025
Disciplina: Mecânica
Banca: FGV
Orgão: Pref. Canaã Carajás-PA
As etapas para realização da operação de torneamento cilíndrico externo são apresentadas a seguir.

1. Marcar do comprimento a ser torneado
2. Fixar a peça
3. Executar o torneamento do diâmetro externo
4. Montar a ferramenta no porta-ferramentas
5. Determinar a profundidade do corte
6. Regular a rotação do torno

Assinale a opção que indica a sequência correta para execução dessa operação, da primeira para a última.
 

Provas

Questão presente nas seguintes provas
3686633 Ano: 2025
Disciplina: Mecânica
Banca: FGV
Orgão: Pref. Canaã Carajás-PA
A figura a seguir, mostra duas ferramentas bastante usadas por mecânicos.
Enunciado 4373595-1
As ferramentas (a) e (b) são conhecidas, respectivamente, como:
 

Provas

Questão presente nas seguintes provas
3685328 Ano: 2025
Disciplina: Mecânica
Banca: ADM&TEC
Orgão: Pref. João Alfredo-PE
Durante o trabalho, surgem situações que exigem atenção a fios elétricos expostos e encanamentos com vazamentos. Marque a conduta CORRETA diante de problemas simples em instalações do ambiente:
 

Provas

Questão presente nas seguintes provas
3684071 Ano: 2025
Disciplina: Mecânica
Banca: ADM&TEC
Orgão: Pref. João Alfredo-PE
Provas:
Durante a instalação de um pulverizador no sistema hidráulico, o tratorista precisa calibrar a vazão de óleo. Indique a alternativa CORRETA nesse processo:
 

Provas

Questão presente nas seguintes provas
3684063 Ano: 2025
Disciplina: Mecânica
Banca: ADM&TEC
Orgão: Pref. João Alfredo-PE
O supervisor percebeu que o trator apresentava vibrações acima do normal durante a rotação intermediária do motor. Após verificar possíveis folgas nos pneus e hastes de conexão, sugeriu atenção ao alinhamento do conjunto motriz. Marque a alternativa que descreve a conduta técnica CORRETA diante desse cenário.
 

Provas

Questão presente nas seguintes provas
3684062 Ano: 2025
Disciplina: Mecânica
Banca: ADM&TEC
Orgão: Pref. João Alfredo-PE
Um município contratou um tratorista para o transporte de brita em rodovia com tráfego intenso. Em determinado ponto, houve engarrafamento e o operador precisou frear bruscamente, resultando em deslocamento parcial da carga. Para reduzir esse risco nas próximas viagens, marque a ação CORRETA.
 

Provas

Questão presente nas seguintes provas
3684061 Ano: 2025
Disciplina: Mecânica
Banca: ADM&TEC
Orgão: Pref. João Alfredo-PE
Em uma reunião da CIPA de determinada empresa, foi pautado o aumento de incidentes envolvendo operadores de tratores sem o uso de EPIs. Marque o encaminhamento que reflete a função dessa comissão na prevenção de acidentes.
 

Provas

Questão presente nas seguintes provas
3684060 Ano: 2025
Disciplina: Mecânica
Banca: ADM&TEC
Orgão: Pref. João Alfredo-PE
Durante uma revisão preventiva, o mecânico identificou um rolamento com desgaste excessivo na articulação traseira da retroescavadeira. Entretanto, a empresa não possuía a peça de reposição no estoque. O operador, em acordo com o gerente, optou por seguir com o uso até a chegada do componente. Diante dessa situação, aponte a CORRETA conduta preventiva para evitar agravamento do problema.
 

Provas

Questão presente nas seguintes provas