Foram encontradas 3.321 questões.
A figura a seguir mostra uma peça empregada nos cabos de aço dos paus de carga e guindastes, com o objetivo de içar cargas.

Essa peça é conhecida como
Provas
Segundo a classificação ONU dos riscos dos produtos perigosos, as substâncias consideradas como corrosivas são aquelas
Provas
Em uma ficha contendo os dados do navio, o campo owner deve ser preenchido com a informação referente
Provas
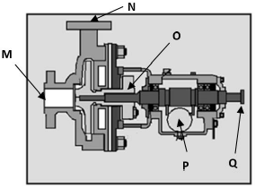
A figura a seguir ilustra uma bomba centrífuga utilizada em uma embarcação.

(Fonte: Marinha do Brasil, Diretoria de Portos e Costas, “Máquinas e Equipamentos Auxiliares”)
O bocal de descarga dessa bomba está indicado pela letra
Provas
O aparelho que é utilizado para medir a velocidade de um navio é denominado de
Provas
As figuras a seguir apresentam dois nós muito empregados nas atividades marinheiras.

Os nós (1) e (2) são conhecidos, respectivamente, como nós
Provas
A maior causa de morte em sobrevivência no mar é a diminuição da temperatura do corpo, causada pela exposição do náufrago a ambientes frios, como por exemplo quando está em imersão em água fria.
Dentre os equipamentos relacionados a seguir, o que é mais efetivo para evitar esse tipo de morte é
Provas
O documento hábil, obrigatório para embarcações empregadas na navegação em mar aberto e interior, que serve para garantir os direitos decorrentes dos embarques e desembarques de tripulantes verificados em uma única embarcação, é denominado
Provas
Duas embarcações a propulsão mecânica estão se aproximando entre sim, em rumos diretamente opostos, como mostra a figura a seguir.

Nesta situação, o procedimento adequado a ser realizado por cada embarcação é
Provas
Quando se iniciou a navegação em alto mar, tornou-se necessária uma orientação adequada para o movimento das embarcações. Dois instrumentos que passaram a ser usados para se obter a direção e a latitude das embarcações foram, respectivamente,
Provas
Caderno Container