Foram encontradas 875 questões.
Assinale a alternativa que contém componentes presentes em erros de medição.
Provas
Questão presente nas seguintes provas
O microconstituinte formado no tratamento de austêmpera é
Provas
Questão presente nas seguintes provas
A corrosão eletrolítica pode gerar danos severos em instalações metálicas.
A corrosão eletrolítica é gerada
Provas
Questão presente nas seguintes provas
São considerados materiais (1) metálicos, (2) cerâmicos, (3) poliméricos e (4) compósitos,
respectivamente:
Provas
Questão presente nas seguintes provas
Os materiais são normalmente classificados em metais, polímeros, cerâmicas e compósitos. Com
relação a essas subdivisões, considerem as seguintes afirmações:
I - Os metais em sua condição de equilíbrio são materiais cristalinos que possuem ligações químicas
metálicas não direcionais.
II - As cerâmicas são materiais que possuem exclusivamente ligações iônicas e estrutura vítrea.
III - Os polímeros podem ser classificados em termoplásticos e termofixos.
IV - Compósitos são os materiais compostos essencialmente de polímeros e cerâmica.
Estão CORRETAS as afirmativas
Provas
Questão presente nas seguintes provas
O micrômetro é um instrumento de medição que possui uma escala e um tambor com dados em
milímetros. A menor unidade de medição do tambor é igual a 0,01 mm, conforme a figura a seguir.
Considerando essas características, a medição mostrada na figura e a sua incerteza são iguais a:
Considerando essas características, a medição mostrada na figura e a sua incerteza são iguais a:
Provas
Questão presente nas seguintes provas
A corrosão galvânica é um importante mecanismo de corrosão em metais, e ocorre pelo contato de
metais com diferentes potenciais de eletrodo.
Considere as seguintes reações e potenciais padrões de redução. O contato entre dois desses metais
pode gerar uma pilha galvânica.
Com base nas informações da tabela, assinale a alternativa CORRETA.
Com base nas informações da tabela, assinale a alternativa CORRETA.
Provas
Questão presente nas seguintes provas
Um ensaio de impacto Charpy foi realizado em dois aços diferentes, aço 1 e aço 2, em temperaturas
distintas, apresentando transição frágil-dúctil. O gráfico abaixo mostra a energia absorvida nas diferentes
temperaturas de ensaio.
Com base nesse ensaio, é CORRETO afirmar:
Com base nesse ensaio, é CORRETO afirmar:
Provas
Questão presente nas seguintes provas
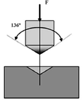
O método de ensaio de dureza consiste em um penetrador de diamante, com formato piramidal quadrado
e ângulos entre as faces opostas igual a 136º , como ilustrado no esquema abaixo:
Trata-se do método
Trata-se do métodoProvas
Questão presente nas seguintes provas
Considere o gráfico que foi obtido com um ensaio uniaxial de tração em um material metálico para responder a questão.

Provas
Questão presente nas seguintes provas
Cadernos
Caderno Container