Magna Concursos

Foram encontradas 5.225 questões.

3911743 Ano: 2025
Disciplina: Edificações
Banca: VUNESP
Orgão: UNESP
Em soldagem oxiacetilênica, a regulagem da chama é essencial para a qualidade do trabalho.

Considerando o tipo de chama utilizado, assinale a alternativa que apresenta a principal vantagem da chama neutra para a soldagem de aço carbono.
 

Provas

Questão presente nas seguintes provas
3911742 Ano: 2025
Disciplina: Edificações
Banca: VUNESP
Orgão: UNESP
Nos processos de soldagem com eletrodo revestido, o uso da polaridade tem influência na penetração e no perfil do cordão de solda.

Considerando a soldagem com corrente contínua, qual a consequência mais comum da utilização da polaridade reversa, ou seja, utilizando o eletrodo no polo positivo?
 

Provas

Questão presente nas seguintes provas
3911297 Ano: 2025
Disciplina: Edificações
Banca: VUNESP
Orgão: UNESP
Para executar as várias etapas do serviço de assentamento de pisos cerâmicos são utilizados diversos equipamentos e ferramentas, sendo que as desempenadeiras têm grande utilidade. A desempenadeira de madeira é especialmente destinada para
 

Provas

Questão presente nas seguintes provas
3911295 Ano: 2025
Disciplina: Edificações
Banca: VUNESP
Orgão: UNESP
Deseja-se pintar as grades e portões metálicos de uma edificação. Para garantir uma alta durabilidade e acabamento brilhante, a escolha mais adequada, de tinta e diluente, respectivamente, é
 

Provas

Questão presente nas seguintes provas
3911073 Ano: 2025
Disciplina: Edificações
Banca: VUNESP
Orgão: UNESP
A colocação de rodapés é uma etapa de acabamento importante para a estética e para proteger a parede de impactos. Para uma boa colocação de rodapés de madeira são necessários alguns cuidados, como
 

Provas

Questão presente nas seguintes provas
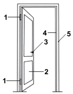
3911072 Ano: 2025
Disciplina: Edificações
Banca: VUNESP
Orgão: UNESP
Observe a figura a seguir, que mostra os principais componentes de uma porta de madeira comum:
Enunciado 4768312-1 (Arquivo pessoal; imagem usada com autorização)

A sequência de instalação recomendada é
 

Provas

Questão presente nas seguintes provas
3911066 Ano: 2025
Disciplina: Edificações
Banca: VUNESP
Orgão: UNESP
Para realizar com eficiência os serviços de marcenaria é necessário utilizar a ferramenta, manual ou elétrica, adequada para cada finalidade. A serra tico-tico é especialmente indicada para
 

Provas

Questão presente nas seguintes provas
3911065 Ano: 2025
Disciplina: Edificações
Banca: VUNESP
Orgão: UNESP
Entre as diversas formas de fixação de vidros, a que reforça a segurança e proporciona boa vedação em janelas de alumínio, portas e vitrôs basculantes é a que utiliza
 

Provas

Questão presente nas seguintes provas
3911064 Ano: 2025
Disciplina: Edificações
Banca: VUNESP
Orgão: UNESP
O elemento de alvenaria que apresenta superfície regular, permitindo revestimentos mais finos, bom isolamento acústico e resistência, menor absorção de água, sendo considerado ideal para dividir ambientes ou fechar fachadas, adaptando-se a reformas e alterações é o
 

Provas

Questão presente nas seguintes provas
3911063 Ano: 2025
Disciplina: Edificações
Banca: VUNESP
Orgão: UNESP
A alvenaria de vedação de uma edificação será construída com tijolos de barro maciço de dimensões 5,5 x 11 x 22 cm. Se essa parede ficou com espessura de 33 cm antes do revestimento significa que ela foi construída na forma de
 

Provas

Questão presente nas seguintes provas