Foram encontradas 50 questões.
Assinale a alternativa correta sobre o tipo de sinalização tátil e visual no piso, que serve para informar a pessoa com deficiência visual sobre a existência de desníveis ou situações de risco permanente (objetos suspensos não detectáveis pela bengala longa) e orientar o posicionamento adequado desta pessoa para o uso de equipamentos (elevadores, equipamentos de autoatendimento ou serviços).
Provas
Disciplina: Segurança e Saúde no Trabalho (SST)
Banca: FUNDATEC
Orgão: UNIPAMPA
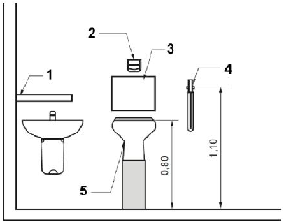
De acordo com a NBR 9.050/2015, assinale a alternativa correta em que os números correspondem aos elementos representados na vista frontal de um sanitário para uso de pessoa ostomizada.

Provas
Assinale a alternativa correta, conforme a NBR 6.492/1994, associando os números da figura abaixo à representação dos materiais usados no desenho arquitetônico.

Provas
Segundo a NBR 6.492/1994, no anteprojeto arquitetônico, os elementos a serem apresentados no desenho de fachadas são:
Provas
No Projeto de Arquitetura, conforme a NBR 6.492/1994, o desenho que apresenta uma vista superior do plano secante horizontal, localizado a, aproximadamente, 1,50m do piso de referência, é definido como:
Provas
O formato das folhas de desenho, segundo a NBR 10.068/1987, consiste em retângulos com diferentes dimensões e respectivas designações. Relacione a Coluna 1 à Coluna 2, associando as designações das folhas de desenho e suas respectivas dimensões.
Coluna 1
1. A0.
2. A1.
3. A2.
4. A3.
5. A4.
Coluna 2
( ) 295 cm x 410 cm.
( ) 841cm x 1.189 cm.
( ) 210 cm x 297 cm.
( ) 594 cm x 841 cm.
( ) 420 cm x 594 cm.
A ordem correta de preenchimento dos parênteses, de cima para baixo, é:
Provas
De acordo com NBR 10.126/1987, a disposição de uma cota no desenho deve indicar claramente a finalidade de uso, que, geralmente, corresponde ao resultado da combinação de várias finalidades. Quando o número de cotas da mesma direção se relaciona a um elemento de referência, o método corresponde a cotagem:
Provas
Analise as seguintes assertivas sobre os tipos de linhas em desenho técnico recomendadas pela NBR 8.403/1984.
I. A linha contínua larga é aplicada, geralmente, para contornos e arestas visíveis.
II. A linha estreita é aplicada, geralmente, como linhas de interseção imaginárias, cotas e hachuras.
III. A linha tracejada larga ou estreita é aplicada como contornos de seções rebatidas na própria vista e linhas de centro curtas.
IV. A linha traço e ponto largo é aplicada para contorno de peças adjacentes, posição limite de peças móveis e linhas de centro de gravidade.
Quais estão corretas?
Provas
Assinale a alternativa INCORRETA sobre os métodos de representação recomendados pela NBR 10.209/2005.
Provas
Assinale a alternativa correta sobre as vistas ortográficas de um sólido apresentadas na figura baixo.

Provas
Caderno Container