Foram encontradas 140 questões.
A NBR-9050/2015 trata sobre acessibilidade. A figura a seguir ilustra o uso de uma barra de apoio reta fixada ao fundo e duas retas fixadas a 90°na lateral, quando a bacia com caixa acoplada está próxima a uma parede.

As medidas da altura da barra (bacia adulto) que correspondem aos itens A e A1, são, respectivamente,
Provas
Dentro dos princípios da geometria descritiva, os desenhos contidos no projeto básico de Arquitetura, tendo o observador no infinito, são definidos como
Provas
No que tange a Norma NBR 6492/94, as imagens (I), (II) e (III) correspondem, respectivamente, aos materiais na sua convenção
(I) 
(II) 
(III) 
Provas
A NBR 6492/94 trata das representações gráficas em Arquitetura. As linhas tracejada (I), traço e dois pontos (II) e traço e um ponto (III) indicam, respectivamente,
(I) 
(II) 
(III) 
Provas
Um arquiteto está utilizando o software Autocad. O melhor comando que visa acertar a escala de imagens a ser adotado é o
Provas
- Legislação e NormasNBRs
- Tecnologia das ConstruçõesSistemas e Elementos ConstrutivosMateriais para Construção
Concreto de cimento Portland é um material formado pela mistura homogênea de cimento, agregados miúdo e graúdo e água, com ou sem a incorporação de componentes minoritários. Os materiais componentes da mistura podem ser medidos de várias formas. Sobre as definições da ABNT NBR 12.655:2005, marque a alternativa correta.
Provas
- Legislação e NormasNBRs
- Tecnologia das ConstruçõesSistemas e Elementos ConstrutivosMateriais para Construção
O cimento fornecido em sacos deve ser guardado em pilhas, em local fechado, protegido da ação de chuva, névoa ou condensação. Cada lote recebido em uma mesma data deve ser armazenado em pilhas separadas e individualizadas. O empilhamento máximo dos sacos varia de acordo com o período de permanência no canteiro de obras. Conforme a norma ABNT NBR 12.655:2015, quando ficarem retidos por período inferior a 15 dias no canteiro de obras, os sacos devem ser empilhados em altura de no máximo
Provas
- Legislação e NormasNBRs
- Tecnologia das ConstruçõesSistemas e Elementos ConstrutivosMateriais para Construção
Argamassas são misturas homogêneas de agregado(s) miúdo(s), aglomerante(s) inorgânico(s) e água, contendo ou não aditivos, com propriedades de aderência e endurecimento, podendo ser dosada em obra ou em instalação própria (argamassa industrializada). Baseado na ABNT NBR 13.281:2005, a argamassa
Provas
A ABNT NBR 5.410:2004 (Errata 2008) enuncia prescrições aplicáveis a locais de habitação. Suponha uma sala de estar de uma residência cuja planta baixa tem formato retangular, com largura de 3,00m (três metros) e comprimento de 6,00m (seis metros). O número mínimo de tomadas previstas devem ser
Provas
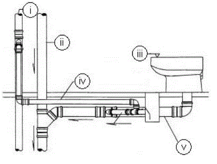
As ligações da coluna de ventilação aos demais componentes do sistema de ventilação ou do sistema de esgoto sanitário devem ser feitas com conexões apropriadas. Na figura a seguir, adaptada da ABNT NBR 8.160:1999, o ramal de ventilação está indicado por

Provas
Caderno Container