Foram encontradas 1.390 questões.
Observe as figuras abaixo:

A correta classificação dos sistemas de drenagem I, II, III e IV, são respectivamente:
Provas
Existe um sistema de irrigação de movimentação circular, autopropelido à energia hidráulica ou elétrica, sendo constituído, em geral, de uma linha, com vários aspersores, de 200 a 800 m de comprimento, com tubos de aço de acoplamento especial, suportada por torres dotadas de rodas, nas quais operam os dispositivos de propulsão do sistema, imprimindo à linha um movimento de rotação, em torno de um ponto, que lhe serve de ancoragem e de tomada de água, por bombeamento de poços profundos, junto do pivô ou da adutora. O sistema é dotado de recursos de ajustagem de velocidade de rotação e de alinhamento das tubulações. Sua capacidade varia entre 25 e 200 ha, por unidade.
Este sistema de irrigação é denominado:
Provas
Os aspersores são as peças principais do sistema de irrigação por aspersão. Operam sob pressão e lançam o jato de água no ar, o qual é fracionado em gotas, caindo sobre o terreno em forma de chuva. Aspersores rotativos, aspersores estacionários, bocais e tubos perfurados são usados em sistemas de irrigação por aspersão. Na maioria dos sistemas de irrigação, utilizam-se aspersores rotativos. Aspersores que trabalham com pressão de serviço, entre 10 e 20 mca e possuem raio de alcance entre 6 e 12 m, são Aspersores de pressão de serviço denominada:
Provas
A classificação para a salinidade dos solos, proposta pelos técnicos do Laboratório de Salinidade dos Estados Unidos é baseada na Condutividade Elétrica (CE), como indicadora do perigo de salinização do solo, e na Razão de Adsorção de Sódio (RAS), como indicadora do perigo de alcalinização ou solidificação do solo.
Segundo sua condutividade elétrica (CE), ou seja, de acordo com a sua concentração total de sais solúveis, as águas são divididas em:
Provas
A evapotranspiração de determinada cultura quando há ótimas condições de umidade e nutriente no solo, de modo a permitir a produção potencial desta cultura no campo é denominada evapotranspiração:
Provas
Nas definições de parâmetros que caracterizam a relação solo-água a relação entre o volume de vazios (Vv) e o volume de amostra (V), chama-se:
Provas
Uma maneira comumente usada para classificar os cursos d’água é a de tomar como base a constância do escoamento com o que se determinam três tipos. Existe um curso d’água que contém água durante todo o tempo. O lençol subterrâneo mantém uma alimentação contínua e não desce nunca abaixo do leito do curso d’água, mesmo durante as secas mais severas.
Esses cursos d’água são conhecidos como:
Provas
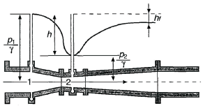
Existe um medidor de vazão que compreende três secções principais, sendo a) uma peça convergente, b) outra divergente (difusor), e c) uma seção intermediaria, que constitui a garganta ou estrangulamento, conforme figura abaixo.

Este medidor de vazão é conhecido como:
Provas
Quando a pressão absoluta em um determinado ponto se reduz a valores abaixo de um certo limite, alcançando o ponto de ebulição da água (para essa pressão) esse líquido começa a ferver e os condutos ou peças (de bombas, turbinas ou tubulações) passam a apresentar, em parte, bolsas de vapor dentro da própria corrente.
O fenômeno de formação e destruição dessas bolsas de vapor, ou cavidades preenchidas com vapor, denomina-se:
Provas
A sigla NPSH é adotada universalmente para designar:
Provas
Caderno Container