Foram encontradas 1.455 questões.
Nos microscópios eletrônicos de varredura, a imagem
da amostra é formada devido:
Provas
Questão presente nas seguintes provas
Para um ensaio de tenacidade a fratura, é preciso
preparar o corpo de prova e montá-lo na máquina.
Esquematicamente, estão exibidas, na figura a seguir,
as geometrias dos corpos utilizados em um dado
ensaio. Com base nas geometrias apresentadas e na
forma como os corpos de prova devem ser montados
na máquina para o ensaio, é correto afirmar que:


Provas
Questão presente nas seguintes provas
Para uma superfície a ser usinada, o projetista indicou
parâmetros no desenho abaixo. Assinale, entre as
alternativas a seguir, a que correlaciona,
corretamente, os parâmetros indicados no desenho.


Provas
Questão presente nas seguintes provas
Em um mecanismo de transmissão por engrenagens
cilíndricas de dente reto, a relação de transmissão
entre a engrenagem motora e a movida é i=0,4. Sabese que a engrenagem motora possui os seguintes
parâmetros: Z1 = 60, módulo m = 2mm e folga da
cabeça c = 0,167mm. Determine o número de dentes
da engrenagem movida (Z2 ), a distância entre centros
(a) e a altura do dente das engrenagens (h).


Provas
Questão presente nas seguintes provas
Um dado cilindro hidráulico com diâmetro do pistão d1 = 100mm e diâmetro da haste d2= 70mm foi instalado num circuito,
cuja pressão efetiva de alimentação do fluido é pe= 80bar. Considerando que a vazão do fluído é Q= 12l/min, qual é a
força F1 e a velocidade Vi geradas no avanço do cilindro?


Provas
Questão presente nas seguintes provas
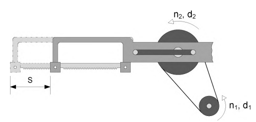
As máquinas de serra são bastante utilizadas para seccionar materiais nos processos de fabricação. Considerando a
configuração de uma serra de arco, cujo mecanismo de manivela é apresentado na figura a seguir, calcule a velocidade
média de corte. Dados: S = 280mm; n1 = 135rpm; d1 = 60mm; d2 = 180mm.


Provas
Questão presente nas seguintes provas
Um técnico recebeu como tarefa fabricar, em um torno CNC, a peça mostrada na figura abaixo, conforme a norma
DIN66025-2(1983-01). Ao iniciar a criação do programa, ele conseguiu, facilmente, criar o código para usinar entre os
pontos P1 e P2. Porém, ele não sabe como usinar a geometria entre os pontos P2 e P3. Dentre as alternativas abaixo,
qual é a programação adequada para usinar a peça entre os pontos P2 e P3?


Provas
Questão presente nas seguintes provas
Os Equipamentos de Proteção Individual (EPIs) são
equipamentos utilizados pelo trabalhador para
minimizar a exposição ao risco, caso as medidas de
proteção coletivas não sejam suficientes para tal
intento. A autoridade pública em Saúde e Segurança
do Trabalho emite um documento que garante a
qualidade do EPI utilizado. Esse documento é:
Provas
Questão presente nas seguintes provas
Em um ensaio de microdureza vickers de um dado material metálico, o penetrador deixou uma marca com a média das
diagonais dm= 0,42 mm. Considerando que a carga aplicada na pirâmide de diamante foi de 15 kgf, qual foi o valor de
dureza obtido?
Provas
Questão presente nas seguintes provas
Acerca dos processos de conformação dos metais, analise as proposições abaixo.
1) Os processos de laminação, forjamento, extrusão e fundição são considerados processos de conformação, uma vez que a peça final é obtida sem a retirada de material. 2) O corte por cisalhamento é um processo de conformação utilizado em chapas. 3) O material a ser conformado, desejavelmente, deve apresentar baixa resistência ao escoamento e à elevada ductilidade. 4) No processo de trefilação, o arame é forçado a escoar pela abertura de uma matriz, modificando a sua seção transversal. 5) No processo de trefilação de tubos, o uso do mandril fixo ou do mandril flutuante são recomendados quando se deseja controlar o diâmetro interno e a espessura da parede do tubo.
Estão corretas, apenas:
1) Os processos de laminação, forjamento, extrusão e fundição são considerados processos de conformação, uma vez que a peça final é obtida sem a retirada de material. 2) O corte por cisalhamento é um processo de conformação utilizado em chapas. 3) O material a ser conformado, desejavelmente, deve apresentar baixa resistência ao escoamento e à elevada ductilidade. 4) No processo de trefilação, o arame é forçado a escoar pela abertura de uma matriz, modificando a sua seção transversal. 5) No processo de trefilação de tubos, o uso do mandril fixo ou do mandril flutuante são recomendados quando se deseja controlar o diâmetro interno e a espessura da parede do tubo.
Estão corretas, apenas:
Provas
Questão presente nas seguintes provas
Cadernos
Caderno Container