Foram encontradas 615 questões.
Deseja-se fazer um furo de 5 mm de diâmetro, em uma chapa de aço AISI 1020, com uma broca de aço rápido. Considerando uma velocidade de corte de 10m/min para a broca de aço rápido, assinale a alternativa correta.
Provas
Questão presente nas seguintes provas
Em relação à metrologia, assinale a alternativa correta.
Provas
Questão presente nas seguintes provas
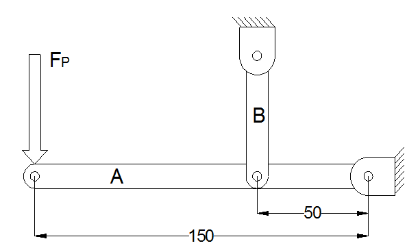
A figura a seguir ilustra, de forma esquemática, um suporte para carregamento de cargas em estado de equilíbrio. A Viga A apresenta pontos articulados de fixação por meio de pinos. Considerando uma força Fp de 20 kN aplicada na extremidade da viga A e considerando as dimensões das vigas apresentadas na figura, assinale a alternativa correta.


Provas
Questão presente nas seguintes provas
Os cilindros pneumáticos para desenvolverem as suas ações produtivas devem ser alimentados ou descarregados convenientemente. Os elementos que servem para orientar os fluxos de ar, impor bloqueios, controlar vazão ou pressão são denominados válvulas. Em relação às válvulas pneumáticas, assinale a alternativa INCORRETA.
Provas
Questão presente nas seguintes provas
Em relação à NR 11, assinale a alternativa correta.
Provas
Questão presente nas seguintes provas
A figura a seguir ilustra, de forma esquemática, um macaco hidráulico em equilíbrio. Os diâmetros dos cilindros estão apontados em milímetros na figura. Considerando uma força F1 de 200N, assinale a alternativa correta.


Provas
Questão presente nas seguintes provas
Em relação às escalas, assinale a alternativa correta.
Provas
Questão presente nas seguintes provas
A figura a seguir ilustra de forma esquemática um diagrama Tensão-Deformação para três materiais diferentes (A, B e C). Em relação ao diagrama, é correto afirmar que


Provas
Questão presente nas seguintes provas
Deseja-se dimensionar um motor para ser acoplado a uma bomba centrífuga para bombeamento de água. Considerando uma vazão de 75 litros por segundo, um rendimento de 0,8 para a bomba e uma altura manométrica de 80 metros, é correto afirmar que
Provas
Questão presente nas seguintes provas
Em relação às Leis da Termodinâmica descritas a seguir, assinale a alternativa correta.
A. Todo corpo possui uma propriedade chamada temperatura. Quando dois corpos estão em equilíbrio térmico, suas temperaturas são iguais e vice-versa.
B. Todos os processos irreversíveis em um sistema fechado são acompanhados por aumento da entropia.
C. A energia interna de um sistema tende a aumentar se acrescentamos energia na forma de calor, e a diminuir se removemos energia na forma de trabalho W realizado pelo sistema.
Provas
Questão presente nas seguintes provas
Cadernos
Caderno Container