Magna Concursos

Foram encontradas 454 questões.

479115 Ano: 2013
Disciplina: Engenharia Civil
Banca: FCC
Orgão: TRT-18

Considere a peça de madeira da figura.

Enunciado 479115-1

Um dos problemas que o engenheiro se depara ao construir uma estrutura de madeira é reconhecer os tipos de defeitos que comprometem a resistência, a aparência e a durabilidade. O defeito na peça de madeira apresentado na figura acima é

 

Provas

Questão presente nas seguintes provas
479114 Ano: 2013
Disciplina: Engenharia Civil
Banca: FCC
Orgão: TRT-18
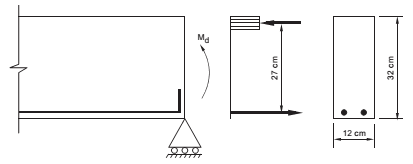
Uma viga de concreto armado com seção retangular de 12 cm por 32 cm está submetida ao momento fletor de cálculo de 23,48 kNm. O cálculo da profundidade da linha neutra, com o tipo de concreto utilizado, levou à determinação do braço de alavanca de 27 cm, como mostrado na figura.
Enunciado 479114-1
Se o aço da armadura de flexão tiver resistência de cálculo ao escoamento de 434,80 MPa, a área de armadura, em cm2 , é
 

Provas

Questão presente nas seguintes provas
479112 Ano: 2013
Disciplina: Engenharia Civil
Banca: FCC
Orgão: TRT-18
Considera-se desmembramento, a
 

Provas

Questão presente nas seguintes provas
479111 Ano: 2013
Disciplina: Engenharia Civil
Banca: FCC
Orgão: TRT-18
Segundo a Norma Regulamentadora 17 do Ministério do Trabalho, nos locais de trabalho onde são executadas atividades que exijam solicitação intelectual e atenção constantes, tais como: escritórios, salas de desenvolvimento ou análise de projetos são recomendadas as seguintes condições de conforto:
 

Provas

Questão presente nas seguintes provas
479110 Ano: 2013
Disciplina: Engenharia Civil
Banca: FCC
Orgão: TRT-18
Em uma obra, utilizou-se concreto feito em betoneira com traço em peso (1:2,5:3:0,55), com consumo de 350 kg de cimento por m3 . Se a massa unitária seca do agregado graúdo (brita no 2) for 1500 kg/m3 , ao custo de R$ 80,00 o m3 , o custo total da brita, em reais, para produção de 1 m3 de concreto é
 

Provas

Questão presente nas seguintes provas
479109 Ano: 2013
Disciplina: Engenharia Civil
Banca: FCC
Orgão: TRT-18
Para o revestimento interno de 1000 m2 de uma edificação, foi previsto a aplicação de gesso com 2 cm de espessura, ao custo unitário do metro quadrado de R$ 2,00 de material e R$ 6,00 de mão de obra. Na aplicação do revestimento com 4 cm de espessura, o custo unitário do m2 é de R$ 4,00 de material e de R$ 8,00 de mão de obra. Se for escolhido o revestimento com 4 cm de espessura ao invés do de 2 cm, haverá um aumento percentual de
 

Provas

Questão presente nas seguintes provas
479108 Ano: 2013
Disciplina: Engenharia Civil
Banca: FCC
Orgão: TRT-18

Uma barra de aço especial, de seção circular com extremidades rosqueadas é utilizada como tirante em uma estrutura metálica. O aço apresenta fy = 242 MPa e fu = 396 MPa.

Dados:

Coeficientes parciais de segurança aplicados às resistências para aço estrutural, pinos e parafusos para as combinações normais das ações:

No estado limite de escoamento ϒa1 = 1,10

No estado limite de ruptura: ϒa2 = 1,35

Se a força de tração de cálculo for 110 kN, a área do tirante, em cm2 é

 

Provas

Questão presente nas seguintes provas
479107 Ano: 2013
Disciplina: Engenharia Civil
Banca: FCC
Orgão: TRT-18
Em uma instalação predial de água fria, utilizou-se tubulação de ferro galvanizado de diâmetro de 50 mm para a montagem de uma coluna que liga os pontos A e B, com comprimento de 15 m. A pressão no ponto A, a jusante, é 6,64 mca. Na coluna foram instaladas as seguintes peças, com seus respectivos comprimentos equivalentes: registro de gaveta: 0,5 m; curva de raio longo: 1,25 m; tê 90° com saída de lado: 3,4 m e cotovelo de redução: 1,85 m. Se a perda de carga unitária é 0,12 mca/m, a pressão no ponto B é
 

Provas

Questão presente nas seguintes provas
479106 Ano: 2013
Disciplina: Engenharia Civil
Banca: FCC
Orgão: TRT-18
Em sistemas prediais de esgoto sanitário, nos trechos horizontais de ramais de descarga de esgoto com diâmetro nominal maior ou igual a 100 mm, a declividade mínima e a distância máxima entre dois dispositivos de inspeção são, respectivamente,
 

Provas

Questão presente nas seguintes provas
479105 Ano: 2013
Disciplina: Engenharia Civil
Banca: FCC
Orgão: TRT-18
Em uma edificação pretende-se instalar condutores horizontais de águas pluviais com diâmetro interno de 300 mm. Para fins de dimensionamento, a altura da lâmina d’água, em mm, a ser considerada é
 

Provas

Questão presente nas seguintes provas