Foram encontradas 943 questões.
- Resistência dos Materiais e Análise EstruturalAço
- Resistência dos Materiais e Análise EstruturalEstabilidade de sistemas estruturais
O eixo de aço da figura a seguir tem 200 mm de comprimento, está engastado em uma das extremidades e está submetido a um momento de torção de 40 kNm.

(Arquivo pessoal; imagem usada com autorização)
Se o módulo de elasticidade transversal do aço é 80 GPa e o momento polar de inércia da seção transversal do eixo é 1 000 cm4, então, o ângulo de torção, na extremidade livre do eixo de aço, em módulo e em radianos, é
Provas
A barra da figura a seguir, com 0,90 m de comprimento, está engastada nas duas extremidades.

(Arquivo pessoal; imagem usada com autorização)
Ao se aplicar uma força de 15 kN no ponto C, as reações horizontais nos engastamentos A e B são, respectivamente, em módulo e em kN,
Provas
A viga da figura a seguir é suportada por dois cabos de aço nos pontos A e B e submetida a uma carga concentrada de 100 kN no ponto C.

(Arquivo pessoal; imagem usada com autorização)
Se a área da seção transversal dos cabos é 5 cm2, as tensões de tração nos cabos A e B são, respectivamente, em MPa,
Provas
Um perfil de aço MR250 compacto com contenção lateral contínua deve ser utilizado como viga. Considerando as combinações das ações normais para o escoamento e, se o módulo plástico do perfil é 2200 cm4, então, o momento fletor resistente de cálculo é
Provas
A treliça de aço da figura a seguir está submetida a três cargas concentradas de 400 kN.

(Arquivo pessoal; imagem usada com autorização)
Se o módulo de elasticidade do aço é 200 GPa e a área da seção transversal das barras é 20 cm2, então, o encurtamento da barra AB e o alongamento da barra AE são, respectivamente, em milímetros,
Provas
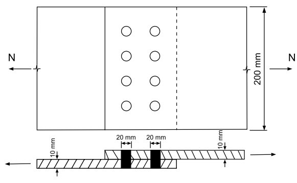
As duas chapas de aço com 200 mm de largura e 10 mm de espessura da figura a seguir estão emendadas por traspasse, com 8 parafusos de 20 mm de diâmetro, cujos furos foram realizados por punção.

(Arquivo pessoal; imagem usada com autorização)
Ao se aplicar nessas chapas uma força de tração de 212 kN, a tensão característica de tração nas chapas é
Provas
- Resistência dos Materiais e Análise EstruturalAço
- Resistência dos Materiais e Análise EstruturalEstabilidade de sistemas estruturais
- Resistência dos Materiais e Análise EstruturalVigas
O perfil de aço de seção vazada da figura a seguir deve ser utilizado em uma estrutura metálica como viga simplesmente apoiada com contenção lateral contínua e sujeita ao momento fletor de 11,75 kNm.

(Arquivo pessoal; imagem usada com autorização)
A tensão normal máxima na flexão que traciona as fibras inferiores da viga é
Provas
No projeto e na execução de fundações, a estaca moldada in loco e executada pela cravação, por meio de sucessivos golpes de um pilão, de um tubo de ponta fechada por uma bucha seca, constituída de pedra e areia, previamente firmada na extremidade inferior do tubo por atrito, além de possuir base alargada e ser integralmente armada, é denominada estaca
Provas
No projeto e execução de fundações, a dimensão mínima em planta, das sapatas isoladas ou dos blocos, é
Provas
- Resistência dos Materiais e Análise EstruturalEstruturas de Concreto
- Resistência dos Materiais e Análise EstruturalEstabilidade de sistemas estruturais
O bloco de concreto de duas estacas da figura a seguir foi dimensionado para suportar a carga de um pilar de 320 kN.

(Arquivo pessoal; imagem usada com autorização)
A força de compressão em cada biela do bloco é
Provas
Caderno Container