Foram encontradas 1.072 questões.
( ) Para-raios.
( ) Relé térmico.
( ) Relé transistorizado.
( ) Relé de controle de intertravamento mecânico.
( ) Interruptor atuado pela pressão.
A sequência está correta em
Provas
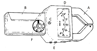
A figura a seguir ilustra um volt-amperímetro tipo alicate com seus componentes básicos externos; analise-a.

A alternativa correta com a identificação dos componentes é:
Provas
Considerando que as leituras deste analisador correspondem aos módulos dos valores de pico, assinale a alternativa
que corresponde à expressão do sinal v(t) analisado.Provas
Assinale a afirmativa INCORRETA, de acordo com os valores apresentados no gráfico da figura.
Provas
- EletrotécnicaCircuitos Elétricos em Eletricidade
- EletrotécnicaCircuitos de Corrente Contínua e de Corrente Alternada
Calcule, no circuito a seguir, em relação aos pontos A e B, o valor da resistência equivalente (RAB), a tensão (VAB) e o valor da corrente medida pelo medidor.

Os valores da resistência equivalente e a tensão são, respectivamente:
Provas
Dos diversos dispositivos de proteção elétrica os fusíveis são basicamente os mais simples construtivamente, e que quando inseridos no circuito rompem em condições anormais. Com base nas grandezas elétricas envolvidas no dimensionamento, analise as afirmativas a seguir.
I. Corrente de curto-circuito: deve ser aquela que o fusível comporta em funcionamento normal.
II. Corrente nominal: é a máxima que pode circular no circuito sem provocar danos à instalação e que deve ser desligada instantaneamente.
III. Tensão nominal: dimensiona a isolação do fusível.
Está(ão) correta(s) apenas a(s) afirmativa(s)
Provas
Provas
Provas
Provas
Provas
Caderno Container