Magna Concursos

Foram encontradas 326 questões.

946547 Ano: 2015
Disciplina: Engenharia Civil
Banca: CESPE / CEBRASPE
Orgão: TRE-MT
Na instalação da rede de esgoto predial, o ralo seco
 

Provas

Questão presente nas seguintes provas
946545 Ano: 2015
Disciplina: Engenharia Civil
Banca: CESPE / CEBRASPE
Orgão: TRE-MT
Com relação à formação de preços de obras públicas, assinale a opção correta.
 

Provas

Questão presente nas seguintes provas
946544 Ano: 2015
Disciplina: Engenharia Civil
Banca: CESPE / CEBRASPE
Orgão: TRE-MT
A espécie de perícia definida como inspeção, por meio de perito, sobre pessoas, coisas ou móveis, para verificação de fatos ou circunstâncias que interessem à causa, denomina-se
 

Provas

Questão presente nas seguintes provas
946543 Ano: 2015
Disciplina: Engenharia Civil
Banca: CESPE / CEBRASPE
Orgão: TRE-MT
O manual de metodologias e conceitos do SINAPI define os diferentes itens que compõem o custo decorrente da posse ou do uso dos diversos equipamentos constantes nas fichas de composição unitária. Com base na metodologia do SINAPI, assinale a opção correta.
 

Provas

Questão presente nas seguintes provas
946542 Ano: 2015
Disciplina: Engenharia Civil
Banca: CESPE / CEBRASPE
Orgão: TRE-MT
enunciado 946542-1

A figura acima ilustra parte de uma estrutura de concreto armado, que consiste em uma viga biapoiada em dois pilares idênticos e sujeita a uma carga triangular, em que as letras A e C representam os extremos da viga, e a letra B o seu centro.

Nessa estrutura,
 

Provas

Questão presente nas seguintes provas
946541 Ano: 2015
Disciplina: Engenharia Civil
Banca: CESPE / CEBRASPE
Orgão: TRE-MT
enunciado 946541-1

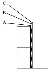
A figura acima representa parte de uma parede seccionada de alvenaria em tijolos, com três camadas de revestimento, representadas por letras, para preparação do revestimento final. Posteriormente serão aplicadas massa corrida e pintura PVA.

Com base nessas informações, é correto afirmar que a camada
 

Provas

Questão presente nas seguintes provas
946540 Ano: 2015
Disciplina: Engenharia Civil
Banca: CESPE / CEBRASPE
Orgão: TRE-MT
enunciado 946540-1

A figura acima ilustra um ensaio de concreto fresco denominado ensaio de abatimento: A fôrma (molde A), de chapa metálica, apresenta forma de tronco de cone de 20 cm de base, 10 cm de topo e 30 cm de altura, e está apoiada em uma superfície rígida e plana. O concreto fresco é colocado em três camadas iguais dentro da fôrma, como mostrado na etapa B e cada camada é adensada com 25 golpes por uma barra de 16 mm de diâmetro e 60 cm de comprimento. Em seguida, a fôrma é retirada verticalmente, e a massa de concreto fresco, que fica sujeita à ação da gravidade, adquire uma forma semelhante à mostrada na etapa C.

Com base nessas informações, é correto afirmar que o
 

Provas

Questão presente nas seguintes provas
946539 Ano: 2015
Disciplina: Engenharia Civil
Banca: CESPE / CEBRASPE
Orgão: TRE-MT
enunciado 946539-1

Na figura acima, que mostra fissuras na fachada de uma edificação de dois pavimentos, a provável causa da patologia apresentada é
 

Provas

Questão presente nas seguintes provas
946538 Ano: 2015
Disciplina: Engenharia Civil
Banca: CESPE / CEBRASPE
Orgão: TRE-MT
enunciado 946538-1

A partir da figura acima, que ilustra a seção transversal de um canal triangular aberto, assinale a opção correta acerca de hidráulica aplicada em canais abertos.
 

Provas

Questão presente nas seguintes provas
946537 Ano: 2015
Disciplina: Engenharia Civil
Banca: CESPE / CEBRASPE
Orgão: TRE-MT
equipamento

valor de aquisição R$ 300.000

potência 125 kw

tipo de combustível dísel

vida útil na condição média de trabalho 5,3 anos horas

trabalhadas por ano 2.000

r (valor residual) 20%

Considerando-se que o valor da parcela de depreciação horária (Dh) do equipamento mencionado na tabela tenha sido calculado com base metodologia do SINAPI, é correto afirmar que o valor, em reais, do Dh é
 

Provas

Questão presente nas seguintes provas