Foram encontradas 962 questões.
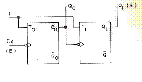
Suponha que o estado inicial de Q0 e Q1 (S) no circuito a seguir, seja igual a zero. Sabendo-se que os flip-flops são sensíveis à borda de descida do pulso de clock, qual a função executada pelo circuito?

Provas
Assinale a única alternativa que representa a capacidade de memória e a palavra de endereço inicial e final para a memória RAM 128Kx8:
Provas
Determinar as condições de entrada (A, B, C) necessárias para gerar uma saída x = 1 no circuito mostrado na figura:

Provas
resultado da simplificação da expressão booleana
será:
Provas
Uma Unidade de Central de Processamento de um microprocessador deve possuir um conjunto de portas lógicas dedicadas que armazenam dígitos binários simples que são automaticamente "setados" ou "resetados" de acordo com o resultado das operações da Unidade Lógica Aritmética. Cada dígito binário destas portas lógicas dedicadas é chamado:
Provas
Assinale abaixo a única alternativa que determina a expressão booleana simplificada de:

Provas
O resultado da conversão do número decimal 3547910 em hexadecimal será de:
Provas
A representação do número +9710, utilizando a notação sinal modulo será de:
Provas
O resultado da operação de números em hexadecimal –BCH + FCH, utilizando a aritmética do complemento de 2 será de:
Provas
Calcule o volume de concreto para construir uma viga de dimensão: 70 cm de altura, 30 cm de largura e 9,00 metros de comprimento?
Provas
Caderno Container