Foram encontradas 70 questões.
Considere uma carga elétrica monofásica, cujas potências ativa e reativa solicitadas de uma fonte de 200 V são, respectivamente, iguais a 4.000 W e 3.000 Var.
O valor da impedância dessa carga é de
Provas
Uma carga elétrica monofásica residencial de 2.000 VA é alimentada por um circuito de 15 m de comprimento que atende somente a essa carga. Sabe-se que a queda de tensão unitária do circuito é de 10 V/A.km.
Considerando que a tensão de alimentação é de 100 V, a queda de tensão no circuito é de
Provas
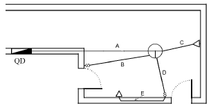
A planta elétrica a seguir apresenta uma luminária comandada por dois interruptores do tipo three-way e duas tomadas monofásicas ligadas a um mesmo circuito

O three-way ligado à linha B recebe a fase de seu circuito.
Considere as seguintes afirmativas a respeito dos cabos que devem passar pelas linhas A, B, C, D e E.
I. Pela linha A passam duas fases, dois neutros e dois terras e pela B uma fase e dois retornos.
II. Pela linha C passam uma fase, um neutro e um terra e pela D uma fase, um neutro, um terra e três retornos.
III. Pela linha D passam duas fases, um neutro, um terra e três retornos e pela E uma fase, um neutro e um terra.
Assinale:
Provas
Em uma instalação elétrica ocorre um contato da fase com o terra. A corrente elétrica de falta decorrente desse contato assume um valor na ordem de algumas unidades de ampéres (normalmente menor que 10 A).
A respeito dessa instalação pode-se afirmar que o esquema de aterramento é o
Provas
A figura a seguir apresenta um circuito magnético composto por uma bobina de 200 espiras percorridas por uma corrente de 400 mA.

O comprimento médio do circuito magnético L é de 0,80 m. Considerando a permeabilidade do material !$ \mu !$ de 5.10–4 Tm/A, a densidade do fluxo magnético no núcleo é, em Tesla, igual a
Provas
Os relés podem ser classificados de acordo com a grandeza com a qual atuam ou quanto ao princípio de atuação. O tipo de relé que analisa a relação entre a tensão e a corrente, de modo a determinar a impedância, é o relé
Provas
Os instrumentos de medidas elétricas fornecem uma avaliação da grandeza elétrica, baseando-se nos efeitos causados por elas. A esse respeito, analise as afirmativas a seguir e assinale (V) para a verdadeira e (F) para a falsa.
( ) Fasímetro é destinado a medir diferença de fases entre a tensão e a corrente elétrica de um equipamento.
( ) Ohmímetro é destinado à medição da resistência de isolamento dos dispositivos ou equipamentos elétricos, como motores, transformadores, redes de eletrodutos metálicos e cabos.
( ) Wattímetro é destinado a medir potência elétrica ativa.
As afirmativas são, respectivamente,
Provas
A respeito de um sistema trifásico a três fios desequilibrado na configuração estrela – estrela (Y – Y), analise as afirmativas a seguir.
I. As tensões de linha são iguais às tensões de fase da carga.
II. O somatório das correntes de fase na carga é sempre igual a zero.
III. As tensões de fase na carga são diferentes das tensões de fase da fonte.
Assinale:
Provas
Em um dado ponto de um sistema elétrico de potência trifásico ocorre uma transformação de tensão, realizada por meio de um banco de três transformadores monofásicos. A relação de transformação entre primário e secundário de cada unidade monofásica é igual a U / !$ a !$U.
Sabendo-se que esse banco de transformadores está na configuração delta – estrela (!$ \Delta !$ – Y), primário e secundário respectivamente, a relação de tensão de linha entre o primário e o secundário desse banco de transformadores é dada pela expressão
Provas
Uma máquina de indução trifásica de 4 polos com um escorregamento de 0,02 é alimentada por uma fonte trifásica senoidal de 50 Hz. A frequência do rotor em rpm é igual a
Provas
Caderno Container