Foram encontradas 420 questões.
O professsor apresentou a tabela a seguir em que está representado o tamanho de uma população de lêvedo (Sccharomyces cerevisiae) que teve início quando uma população de 10 indivíduos foi colocada em um meio de cultura adequado.

Após analisar os dados da tabela, os alunos concluíram que, para essa população, a capacidade limite do ambiente está localizada próxima de
Provas
Para verificar o que seus alunos sabem sobre excreção, o professor apresentou a tabela a seguir e pediu que eles identificassem os componentes do sistema urinário indicados por W, X, Y e Z, considerando uma pessoa saudável.

Analisando os dados fornecidos pela tabela, os alunos chegaram à conclusão correta de que
Provas
As duas figuras a seguir representam, ainda que fora de escala, alguns astros (pontos brancos, ao fundo) e parte do Sistema Solar, em dois momentos.
As linhas brancas mais espessas representam a trajetória da luz envolvendo três astros: Sol, Terra e Júpiter.

O professor pode utilizar as duas figuras para orientar os alunos na percepção de que
Provas
- Biologia CelularBioquímicaFotossíntese
- Biologia CelularBioquímicaRespiração celular e fermentação
- Moléculas, células e tecidos
Um experimento, indicado para turmas de Ciências, permite que os alunos entendam a relação entre plantas e animais entre si e com o ambiente. Esse experimento pode ser feito com água de um aquário à qual é acrescentado bromotimol esverdeado, como representado na figura a seguir.

Considere que os tubos são do mesmo tamanho, que as plantas e os animais colocados nos tubos são do mesmo tipo e na mesma quantidade, que o bromotimol esverdeado foi adicionado à água antes dela ser colocada nos tubos, que quantidades iguais de água foram colocadas nos tubos e que o bromotimol esverdeado fica azulado em meio alcalino e, amarelado, em meio ácido. Os tubos são colocados juntos, em local iluminado.
Com relação ao experimento, analise as afirmativas a seguir.
I. O tubo 1 é imprescindível porque, caso existam autotróficos e heterotróficos na água do aquário, eles que podem interferir na quantidade de CO2 do ambiente. O tubo 1 serve de comparação (controle) para os demais tubos.
II. A influência das plantas e a dos animais na quantidade de CO2 no ambiente é evidenciada pelos resultados dos tubos 2 e 3, respectivamente.
III. O resultado do tubo 4 evidencia a relação entre plantas e animais e suas interferências na quantidade de CO2 no ambiente.
Assinale:
Provas
Os gráficos a seguir representam três propostas sobre a evolução dos seres vivos.
Considere que nos gráficos 2 e 3 os eixos são os mesmos do gráfico 1.

Os três gráficos acima poderiam ser utilizados para ilustrar três ideias sobre a evolução dos seres vivos em um plano de aula, conforme as propostas a seguir.
I. O gráfico 1 serve para explicar a ideia de fixismo, isto é, a ideia de que o número de espécies é fixo e imutável.
II. O gráfico 2 pode ser utilizado para explicar a ideia de que os seres vivos se modificam ao longo do tempo.
III. O gráfico 3 pode ser utilizado para explicar tanto a ideia de Lamarck quanto a de Darwin.
Assinale:
Provas
O professor de Ciências queria montar um experimento para que os alunos pudessem entender que a combustão produz gás carbônico. Para essa finalidade, dispunha de três potes iguais, que poderiam ser emborcados sobre uma mesma quantidade de água de cal incolor, conforme a figura a seguir:

Considerando que os alunos já sabiam que a água de cal incolor ficava esbranquiçada quando em contato com o gás carbônico (CO2 ), o melhor experimento para verificar se a combustão produz gás carbônico deveria conter
Provas
Em uma aula de Ciências, o professor escreveu no quadro a seguinte frase:
Preguiças que se alimentam de folhas de embaúbas apresentam pulgas que, por sua vez são parasitadas por protozoários.
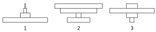
Abaixo da frase, desenhou as três pirâmides ecológicas a seguir, simbolicamente relacionadas à cadeia alimentar incluída na frase,

Seus alunos, após compararem as pirâmides com a cadeia alimentar contida na frase, chegaram às seguintes conclusões:
I. a pirâmide 1 corresponde à pirâmide de biomassa;
II. a pirâmide 2 corresponde à pirâmide de números; e
III. a pirâmide 3 não tem correspondência com os seres da cadeia.
Está correto o que se afirma em
Provas
A soja transgênica foi criada por meio da introdução de genes responsáveis pela síntese de uma determinada enzima nas células das plantas de soja. Esse gene torna as plantas resistentes aos efeitos do herbicida glifosato que, borrifado sobre a plantação, penetra pelas folhas, destruindo apenas as ervas daninhas não resistentes ao herbicida. O uso do herbicida tem o objetivo de eliminar plantas invasoras que dificultam a cultura da soja.
A cultura desse tipo de soja transgênica acarreta
Provas
Para demonstrar a digestão do amido pela saliva, o professor sugeriu um experimento com dois tubos de ensaio preparados com o seguinte conteúdo:
Tubo 1: 2 mL de solução de amido e 2 mL de saliva.
Tubo 2: 2 mL de solução de amido.
Após 10 minutos, uma gota de iodo diluído foi adicionada a cada tubo. Depois de muita discussão, a turma chegou à conclusão de que o experimento estava incompleto e que, para melhorá-lo, seria necessário:
I. substituir o tubo 2 por outro igual, porém com mais 2 mL de água.
II. acrescentar um tubo 3, contendo 4 mL de água.
III. acrescentar um tubo 4, com 2 mL de saliva mais 2 mL de água.
Para resultados mais seguros seria necessário modificar o experimento conforme indicado
Provas
Dentre as diferentes definições de Ciências, destacamos as três a seguir:
1. Maneira muito eficiente e privilegiada de conhecer o mundo e como ele funciona.
2. Conhecimento confiável que, após gerado, passa pelo crivo de uma comunidade erudita, que o chancela.
3. O discurso que determinada sociedade constrói em determinado tempo, para cumprir certas funções e refletir seus valores, mas não necessariamente como o mundo é.
Caso as definições acima sejam adotadas como orientação para o ensino de Ciências, analise as afirmativas a seguir.
I. A definição 1 conduz a um ensino de Ciências que aponta para o entendimento.
II. A definição 2 conduz a um ensino de Ciências que aponta para o entendimento, mas passando pela aprovação de uma sociedade, como a formada pelos participantes da sala de aula.
III. A definição 3 conduz a um ensino de Ciências que se caracteriza pelo conteudismo, isto é, por uma lista de conhecimentos a serem atingidos pela memorização.
Está correto o que se afirma em
Provas
Caderno Container