Foram encontradas 2.200 questões.
A respeito das questões estruturais em arquitetura, julgue os seguintes itens.
A estrutura deve procurar sua estabilidade no terreno, uma vez que todos os casos de instabilidade estão relacionados ao solo e às fundações do edifício.
Provas
A respeito das questões estruturais em arquitetura, julgue os seguintes itens.
Uma estrutura correta tem a obrigação de satisfazer certas exigências fundamentais, como equilíbrio, resistência e estabilidade. Portanto, as forças ativas das sobrecargas e do peso próprio que agem sobre a estrutura devem equilibrar-se com as reações nos apoios ou nos pontos de ligação.
Provas
A respeito das questões estruturais em arquitetura, julgue os seguintes itens.
O tipo de estrutura de um projeto deve levar em conta as possibilidades estáticas e resistências intrínsecas de cada material, pois cada um possui um conjunto de propriedades que o torna mais ou menos apto para um certo tipo ou elemento de construção.
Provas
A respeito do conforto ambiental, acústico, luminoso e térmico, julgue os itens a seguir.
A iluminação natural desejável para um ambiente escolar é a que tem a distribuição indireta e uniforme.
Provas
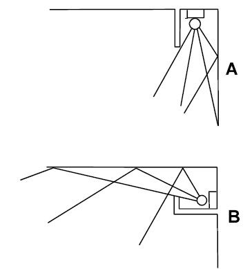
A respeito do conforto ambiental, acústico, luminoso e térmico, julgue os itens a seguir.
Considerando que os 2 ambientes retangulares representados abaixo tenham medidas e áreas iguais e sejam construídos com o mesmo material de revestimento e com paredes pintadas na mesma cor, é correto afirmar que o ambiente A terá um coeficiente de iluminação maior que o de B.

Provas
A respeito do conforto ambiental, acústico, luminoso e térmico, julgue os itens a seguir.
A vegetação é uma aliada do homem, contribuindo na melhoria das condições ambientais da edificação. Entre inúmeras funções, a vegetação, quando implantada de forma adequada, pode contribuir na redução do ruído urbano.
Provas
A respeito do conforto ambiental, acústico, luminoso e térmico, julgue os itens a seguir.
A qualidade do desempenho sonoro de um ambiente está associada à determinação do tempo ótimo de reverberação, que é resultante do volume e dos materiais de revestimento aplicados.
Provas
A respeito do conforto ambiental, acústico, luminoso e térmico, julgue os itens a seguir.
Um arquiteto com o conhecimento profundo do clima de uma região quente-úmida há de projetar residências com grandes beirais para proporcionar sombra. Nesse sentido, a edificação deve ter piso elevado para favorecer a ventilação, e as paredes devem ter elevada inércia térmica.
Provas
A respeito do conforto ambiental, acústico, luminoso e térmico, julgue os itens a seguir.
As venezianas na abertura de saída de ar tiram muito do efeito de ventilação. Em muitas ocasiões, o ar fica quase ou mesmo totalmente parado, sem movimento, e não tem força de inércia suficiente para transpor o obstáculo da veneziana.
Provas
A respeito do conforto ambiental, acústico, luminoso e térmico, julgue os itens a seguir.
A espessura de uma parede pode interferir na troca de calor de um ambiente. No caso de uma parede, a mais delgada promoverá uma troca mais rápida.
Provas
Caderno Container