Foram encontradas 270 questões.
A densitometria mineral óssea é um teste de triagem usado
no diagnóstico acurado e no seguimento de pacientes, após a
instituição de terapia para osteoporose ou osteopenia.
A absorciometria com raios X de dupla energia é tipicamente realizada sobre 2 partes específicas do corpo.
Conforme o enunciado, assinale o item que cita corretamente os respectivos locais anatômicos.
A absorciometria com raios X de dupla energia é tipicamente realizada sobre 2 partes específicas do corpo.
Conforme o enunciado, assinale o item que cita corretamente os respectivos locais anatômicos.
Provas
Questão presente nas seguintes provas
Sobre a composição do equipamento de densitometria
óssea, assinale o item correto.
Provas
Questão presente nas seguintes provas
Todas as mamas são compostas por gordura, tecido
fibroglandular e tecido conjuntivo (ligamentos suspensores da
mama).
No que se refere a mamografia, há sinais básicos de doenças de mama que podem ser observados no exame.
De acordo com o enunciado, sinalize a alternativa que contempla corretamente os sinais supracitados em questão.
No que se refere a mamografia, há sinais básicos de doenças de mama que podem ser observados no exame.
De acordo com o enunciado, sinalize a alternativa que contempla corretamente os sinais supracitados em questão.
Provas
Questão presente nas seguintes provas
O exame mais amplamente estudado e utilizado de imagem
da mama é a mamografia. Sobre tal exame, identifique o item
correto.
Provas
Questão presente nas seguintes provas
A mamografia é uma forma particular de radiografia que
trabalha com níveis de radiação entre intervalos específicos com
a finalidade de registrar imagens da mama para diagnosticar a
eventual presença de estruturas que indiquem uma doença,
com especial importância para o câncer.
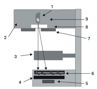
O conhecimento sobre o mamógrafo é imprescindível para a realização de tal exame. De acordo com o assunto, analise a imagem abaixo e, posteriormente, assinale o item que consta o número correspondente a localização correta do chassi.
Fonte:CAMARGO, Renato; CAMPOS, Alessandra Pacini de. Ultrassonografia, Mamografia e Densitometria óssea. Rio de Janeiro: Érica, 2015. E-book. p.20.
O conhecimento sobre o mamógrafo é imprescindível para a realização de tal exame. De acordo com o assunto, analise a imagem abaixo e, posteriormente, assinale o item que consta o número correspondente a localização correta do chassi.
Fonte:CAMARGO, Renato; CAMPOS, Alessandra Pacini de. Ultrassonografia, Mamografia e Densitometria óssea. Rio de Janeiro: Érica, 2015. E-book. p.20.
Provas
Questão presente nas seguintes provas
As substâncias utilizadas como meio de contraste em
exames contrastados são o iodo (Iônico e Não Iônico), o bário
e o gadolínio.
De acordo com o enunciado, marque a alternativa que cita corretamente exemplos de exames e seus respectivos contrastes.
De acordo com o enunciado, marque a alternativa que cita corretamente exemplos de exames e seus respectivos contrastes.
Provas
Questão presente nas seguintes provas
Assinale o item que contém uma contraindicação verdadeira
ao uso de meio de contrastes.
Provas
Questão presente nas seguintes provas
- Protocolos de Exames de Medicina NuclearBases Físicas e Tecnológicas
- Protocolos de Exames de Medicina NuclearTécnicas Radiográficas em Tomografia Computadorizada
Apesar de ser a mais recente ferramenta para avaliação
radiológica, a ressonância magnética (RM) tem-se destacado
sobre os demais métodos de diagnóstico em algumas áreas,
principalmente a neurologia e a ortopedia.
Sobre o exame em questão, assinale o item que for verídico.
Sobre o exame em questão, assinale o item que for verídico.
Provas
Questão presente nas seguintes provas
Tanto os pacientes como os profissionais de saúde que
trabalham na área radiológica precisam se proteger da exposição
aos raios X, uma radiação ionizante.
Sinalize a alternativa que contempla apenas exemplos de materiais que possuem impacto na proteção contra a radiação.
Sinalize a alternativa que contempla apenas exemplos de materiais que possuem impacto na proteção contra a radiação.
Provas
Questão presente nas seguintes provas
- Protocolos de Exames de Medicina NuclearBases Físicas e Tecnológicas
- Protocolos de Exames de Medicina NuclearTécnicas Radiográficas em Tomografia Computadorizada
Analise o trecho a seguir acerca de ressonância magnética
e, em seguida, marque o item com os termos correspondentes a
cada estrutura numerada.
A terminologia utilizada na ressonância magnética se baseia na intensidade de sinal da estrutura avaliada. Há termos para definir uma imagem branca (1), uma imagem escura (2) e estruturas com intensidade de sinal semelhante (3).
A terminologia utilizada na ressonância magnética se baseia na intensidade de sinal da estrutura avaliada. Há termos para definir uma imagem branca (1), uma imagem escura (2) e estruturas com intensidade de sinal semelhante (3).
Provas
Questão presente nas seguintes provas
Cadernos
Caderno Container