Foram encontradas 1.045 questões.
Provas
Provas
Provas
Provas
Provas
Provas
Provas
Para a representação dos projetos, devem ser utilizados os formatos de desenhos técnicos conforme a ABNT. Em relação às condições exigíveis para o dobramento de cópia de desenho técnico, considere:
I. O formato final do dobramento de cópias de desenhos formatos A0, A1, A2 e A3 deve ser o formato A4.
II. As cópias devem ser dobradas de modo a deixar visível toda a legenda.
III. O dobramento deve ser feito a partir do lado direito, em dobras verticais, de acordo com as medidas indicadas pela ABNT.
IV. Quando as cópias de desenho formato A0, A1 e A2 tiverem que ser perfuradas para arquivamento, deve ser dobrado, para trás, o canto superior esquerdo.
Está correto o que consta em
Provas
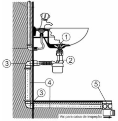
Considere a representação gráfica das peças hidráulicas abaixo.

Os números no desenho referem-se respectivamente a:
Provas
- Gerenciamento, Planejamento e Controle de Obras
- Orçamento no Planejamento e Controle de Obras na Engenharia Civil
Provas
Caderno Container