Foram encontradas 455 questões.
Provas

Provas
Provas
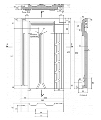
A figura a seguir refere-se a uma telha cerâmica do tipo:

Provas

Provas
Provas
Analise as afirmativas a seguir e assinale a alternativa correta referente ao domínio do estudo da análise estrutural:
I. O momento resultante de um sistema de forças não coplanares, em relação a qualquer ponto no plano destas forças, será sempre perpendicular a este plano.
II. Para que um corpo submetido a um sistema de forças esteja em equilíbrio, é necessário que elas não provoquem nenhuma tendência de translação nem rotação a este corpo; ou seja, basta que a resultante R das forças e o momento resultante m sejam iguais a zero.III. Quando os apoios são em número inferior ao necessário para impedir todos os movimentos possíveis da estrutura, a mesma será dita hipostática, ocorrendo uma situação de equilíbrio instável.
IV. O momento fletor atuante numa seção é definido como sendo a soma algébrica dos momentos das forças situadas de um dos lados desta seção, em relação ao eixo normal à seção que contém o seu centro de gravidade.
Provas
Provas
Provas
Provas
Caderno Container