Foram encontradas 265 questões.
Provas
Os comandos de prompt abaixo podem ser utilizados em um sistema operacional Microsoft Windows 10, em sua configuração padrão:
I. chmod
II. echo
III. cd
Quais estão corretos?
Provas
Analise as assertivas abaixo sobre operadores da linguagem SQL (Structured Query Language).
I. O operador NULL é utilizado em combinação com outros operadores para fornecer o resultado oposto, também chamado de resultado negativo.
II. O operador LIKE pode ser utilizado para procurar uma cadeia de caracteres em uma coluna de texto.
III. O operador UNION serve para agrupar linhas de uma tabela, sendo geralmente utilizado com funções de agregação como COUNT(), SUM() e AVG().
Quais estão corretas?
Provas
Sobre o diagrama de entidade-relacionamento (DER) abaixo, é correto afirmar que:

Provas
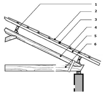
A representação gráfica de um telhado tem hachuras e denominações específicas. Conforme a imagem abaixo, assinale a alternativa que relaciona, correta e respectivamente, os números da figura aos elementos que compõem um telhado.

Provas
I. Em edifícios de múltiplos pavimentos alimentados a partir de reservatório superior, além da separação atmosférica, cada coluna de distribuição deve dispor de meio capaz de admitir ar por ocasião do seu esvaziamento e de expulsar durante o enchimento, assim como de expulsar bolhas segregadas que se formam naturalmente com o sistema em operação.
II. A solução adotada não pode criar trechos de estagnação de água. A operação do registro de fechamento da coluna de distribuição não pode impedir a atuação do recurso adotado como meio de proteção não localizada.
III. Para a aplicação de recursos de ventilação, como válvulas ventosas, deve-se verificar a faixa de pressões de operação, que definem o melhor ponto de aplicação.
Quais estão corretas?
Provas
Provas
I. Para tubulões, a grandeza fundamental é a tensão de ruptura.
II. Essas cargas e tensões devem satisfazer simultaneamente aos Estados Limites Últimos (ELU) e de Serviço (ELS), para cada elemento isolado de fundação isolado, bem como para o conjunto.
III. O projeto de fundações consta de memorial de cálculo e dos respectivos desenhos executivos, com as informações técnicas necessárias para o perfeito entendimento e execução da obra. A elaboração do memorial de cálculo não é obrigatória, devendo estar disponível apenas quando solicitado por órgão fiscalizador.
Quais estão corretas?
Provas
- Estruturas
- Resistência dos Materiais e Análise EstruturalEstruturas de Concreto
- Normas e Legislações
Assinale a alternativa que preenche, correta e respectivamente, as lacunas do trecho acima.
Provas
Assinale a alternativa que preenche corretamente a lacuna do trecho acima.
Provas
Caderno Container