Foram encontradas 30 questões.
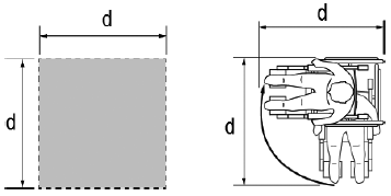
Em se tratando de acessibilidade, algumas medidas mínimas são necessárias para a manobra de cadeira de rodas sem deslocamento, com rotação de 90°, conforme representação abaixo.

A medida “d” a que se refere a representação acima é:
Provas
Assinale a alternativa que retornará o mesmo resultado da aplicação da fórmula do MS Excel do Office 365 em português =SOMARPRODUTO(A1:A2;B1:B2).
Provas
Em um microcomputador encontram-se dois dispositivos responsáveis pela memória do computador. Um é volátil e os dados nele contidos são perdidos ao desligar o computador, porém é de acesso rápido; o outro é não volátil e é onde os arquivos são salvos para serem manipulados novamente após desligar e ligar novamente o computador.
Assinale a alternativa que contém a denominação desses dois dispositivos, respectivamente.
Provas
Qual a função do recurso do MS Word do Office 365 Business em português representado pelo ícone abaixo?

Provas
Ao selecionar palavras, sentenças ou parágrafos inteiros utilizando o MS Word do Office 365 Business em português, o MS Word exibe uma pequena barra de ferramentas sensível ao contexto.
Identifique os itens que representam opções válidas dessa barra de ferramentas.
1. Aumentar ou diminuir o tamanho da fonte.
2. Modificar a fonte.
3. Realçar o texto com uma cor escolhida pelo usuário.
Assinale a alternativa que indica todos os itens corretos.
Provas
Ao navegar pela internet, suponha que você acidentalmente fechou uma aba do navegador Google Chrome.
Assinale a alternativa que contém as teclas de atalho que, quando pressionadas, restauram a última aba fechada do navegador.
Provas
Analise as afirmativas abaixo em relação à ocupação e uso do solo:
1. Índice de Aproveitamento: a proporção entre a área máxima da edificação projetada sobre o lote e a área deste mesmo lote.
2. Recuo: a distância entre o limite extremo da área ocupada por edificação e a divisa do lote.
3. Taxa de Permeabilidade: a proporção de área do lote que não recebe pavimentação para absorção de Águas Pluviais.
Assinale a alternativa que indica todas as afirmativas corretas.
Provas
Na especificação de serviços é importante descrever corretamente cada atividade, como por exemplo, na atividade de execução de alvenaria, onde o preenchimento do encontro da alvenaria de vedação e a estrutura de concreto do pavimento superior devem empregar materiais e técnicas que maximizem a aderência entre essas partes da construção.
Uma dessas soluções está representada esquematicamente abaixo.

Essa técnica é denominada:
Provas
No acompanhamento e na fiscalização de determinada obra, foi necessária a conferência da colocação de cerâmica em alguns ambientes. A obra possui 20 banheiros com dimensões (1,20 m × 2,00 m) e 20 lavabos com dimensões (1,00 m × 1,50 m). Em um determinado mês foi executado todo o piso cerâmico dos 20 banheiros e 10% do piso cerâmico dos 20 lavabos.
Ou seja, para acompanhamento da obra, assinale a área total que deve ser considerada como “área de cerâmica efetivamente aplicada”.
Provas
A documentação contendo uma coletânea de orientações e referências que devem ser obedecidas na concepção e na execução da obra, cujas orientações são editadas por uma empresa contratante, de modo que possam uniformizar condutas dos projetistas, construtores e fiscais de obra é denominada:
Provas
Caderno Container