Foram encontradas 225 questões.
2086093
Ano: 2021
Disciplina: Eletroeletrônica
Banca: VUNESP
Orgão: Pref. Ferraz Vasconcelos-SP
Disciplina: Eletroeletrônica
Banca: VUNESP
Orgão: Pref. Ferraz Vasconcelos-SP
Provas:
Um ginásio poliesportivo foi reformado e todos os chuveiros de seu vestiário foram desmontados e guardados
em um almoxarifado. Todos os chuveiros têm a mesma
carcaça externa, possuem seletor de temperatura (desligado/verão/inverno), seus três fios de ligação, e potência de aquecimento de 4400,0 [W]. Entretanto, não há
qualquer indicação da tensão nominal de cada chuveiro.
Sabe-se que, entre os equipamentos, existem modelos
de 110,0 e de 220,0 [V] misturados, e é necessário separá-los para que sejam novamente instalados, na tensão
correta. Uma forma correta e segura de se identificar os
chuveiros de tensão de
Provas
Questão presente nas seguintes provas
2086092
Ano: 2021
Disciplina: Eletroeletrônica
Banca: VUNESP
Orgão: Pref. Ferraz Vasconcelos-SP
Disciplina: Eletroeletrônica
Banca: VUNESP
Orgão: Pref. Ferraz Vasconcelos-SP
Provas:
Um aparelho de ar-condicionado para tensão de
110,0 [V] deve ser instalado num edifício cuja instalação
elétrica possui apenas a tensão de 220,0 [V]. Sabe-se
que o aparelho tem 12000 [BTU], tensão nominal de
110,0 [V], potências de 3000,0 [W] e 4500,0 [VA]. Um
transformador será usado para adaptar a tensão no local
de instalação de 220,0 para 110,0 [V]. Um transformador
que pode ser usado corretamente para esta aplicação
é aquele cuja relação de transformação e potência são,
respectivamente,
Provas
Questão presente nas seguintes provas
2086091
Ano: 2021
Disciplina: Eletroeletrônica
Banca: VUNESP
Orgão: Pref. Ferraz Vasconcelos-SP
Disciplina: Eletroeletrônica
Banca: VUNESP
Orgão: Pref. Ferraz Vasconcelos-SP
Provas:
Um banco de resistências com potência de 22000 [W] e
tensão nominal de 110,0 [V] será corretamente alimentado a partir de um transformador cuja tensão nominal em
um de seus enrolamentos é de 110,0 [V], e a tensão nominal em seu outro enrolamento é de 220,0 [V]. Admitindo-se que o transformador seja ideal, quando esse sistema
é conectado a uma rede com tensão de 220,0 [V], a corrente que é consumida da rede é de
Provas
Questão presente nas seguintes provas
2086090
Ano: 2021
Disciplina: Eletroeletrônica
Banca: VUNESP
Orgão: Pref. Ferraz Vasconcelos-SP
Disciplina: Eletroeletrônica
Banca: VUNESP
Orgão: Pref. Ferraz Vasconcelos-SP
Provas:
Um contator é utilizado para acionar um motor trifásico
em uma instalação predial. Esse contator foi especificado
com uma bobina com tensão nominal de 24,0 [V] para
corrente contínua (CC) e possui contatos de potência
NA, capazes de operar com tensões de até 250,0 [V] em
corrente alternada (CA), e até 20,0 [A]. Utilizando-se o
dispositivo de forma correta, se o contator tiver
Provas
Questão presente nas seguintes provas
2086089
Ano: 2021
Disciplina: Eletroeletrônica
Banca: VUNESP
Orgão: Pref. Ferraz Vasconcelos-SP
Disciplina: Eletroeletrônica
Banca: VUNESP
Orgão: Pref. Ferraz Vasconcelos-SP
Provas:
Um dos riscos nas instalações elétricas é o surgimento
de arcos e descargas, devido ao rompimento dos elementos isolantes ou dielétricos, em função de surtos e
do surgimento de grandes diferenças de potenciais entre
as partes energizadas, ou entre uma parte energizada e
uma parte aterrada. Por essa razão, nos sistemas de alta
tensão
Provas
Questão presente nas seguintes provas
2086088
Ano: 2021
Disciplina: Eletroeletrônica
Banca: VUNESP
Orgão: Pref. Ferraz Vasconcelos-SP
Disciplina: Eletroeletrônica
Banca: VUNESP
Orgão: Pref. Ferraz Vasconcelos-SP
Provas:
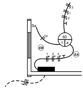
A figura 3 mostra um diagrama elétrico de parte de uma instalação predial.

A partir do mostrado na figura, pode-se afirmar corretamente que
Provas
Questão presente nas seguintes provas
2085396
Ano: 2021
Disciplina: Serviço Social
Banca: VUNESP
Orgão: Pref. Ferraz Vasconcelos-SP
Disciplina: Serviço Social
Banca: VUNESP
Orgão: Pref. Ferraz Vasconcelos-SP
Provas:
- Assistência SocialConselhos de Assistência Social
- Políticas SociaisConceito e Fundamentos das Políticas Públicas
- Políticas SociaisPolíticas Sociais no pós CF/1988
A Constituição Federal de 1988 ampliou o campo da proteção social sob responsabilidade do Estado, instituindo
o direito à Assistência Social. Como estratégias e metas
para a implementação dessa política no Brasil, a V Conferência Nacional de Assistência Social (2005) estabeleceu os dez direitos socioassistenciais. Dentre eles está o
Direito à Proteção Social, por meio das políticas públicas,
de forma
Provas
Questão presente nas seguintes provas
2085395
Ano: 2021
Disciplina: Serviço Social
Banca: VUNESP
Orgão: Pref. Ferraz Vasconcelos-SP
Disciplina: Serviço Social
Banca: VUNESP
Orgão: Pref. Ferraz Vasconcelos-SP
Provas:
- Assistência Social
- LegislaçãoLei 8.742/1993: Dispõe sobre a Organização da Assistência Social
- Políticas SociaisPNAS: Política Nacional de Assistência Social
- Políticas SociaisSUAS: Sistema Único de Assistência Social
A rede socioassistencial é um conjunto integrado de benefícios, serviços, programas e projetos, o que supõe a
articulação entre todas essas unidades de provisão de
proteção social. A ação da rede socioassistencial é realizada diretamente por organizações governamentais ou
por entidades de Assistência Social. Os serviços socioassistenciais prestados por tais organizações são voltados
para as necessidades básicas da população e são caracterizados como atividades
Provas
Questão presente nas seguintes provas
2085394
Ano: 2021
Disciplina: Serviço Social
Banca: VUNESP
Orgão: Pref. Ferraz Vasconcelos-SP
Disciplina: Serviço Social
Banca: VUNESP
Orgão: Pref. Ferraz Vasconcelos-SP
Provas:
- Assistência Social
- LegislaçãoLei 8.742/1993: Dispõe sobre a Organização da Assistência Social
- Políticas SociaisPNAS: Política Nacional de Assistência Social
- Políticas SociaisSUAS: Sistema Único de Assistência Social
O Sistema Único de Assistência Social (SUAS) constitui-se na regulação em todo o território nacional das ações
da Assistência Social. A gestão desse sistema deve
atender a objetivos, princípios, características, eixos
estruturantes e funções dessa área. A função de vigilância socioassistencial possibilita identificar as situações
de vulnerabilidade e risco que atingem as famílias e os
eventos de violação de direitos presentes nos territórios,
mas também permite compreender por que e como se
caracterizam as necessidades e
Provas
Questão presente nas seguintes provas
2085393
Ano: 2021
Disciplina: Serviço Social
Banca: VUNESP
Orgão: Pref. Ferraz Vasconcelos-SP
Disciplina: Serviço Social
Banca: VUNESP
Orgão: Pref. Ferraz Vasconcelos-SP
Provas:
- Assistência SocialBenefícios Eventuais e de Prestação Continuada/LOAS
- LegislaçãoLei 8.742/1993: Dispõe sobre a Organização da Assistência Social
- Políticas SociaisPNAS: Política Nacional de Assistência Social
- Políticas SociaisSUAS: Sistema Único de Assistência SocialNOB: Norma Operacional Básica
Na Assistência Social, a concessão de renda é feita por
meio de auxílios financeiros e de benefícios continuados
para cidadãos não incluídos no sistema contributivo de
proteção social, que apresentem vulnerabilidades decorrentes do ciclo de vida ou incapacidade para a vida
independente e para o trabalho. Já a oferta de apoios e
auxílios é feita em caráter transitório, para famílias, seus
membros e indivíduos sob riscos circunstanciais. De
acordo com o artigo 4° da Norma Operacional Básica do
SUAS (NOB/SUAS), a renda, os apoios e auxílios devem
ser afiançadas pelo SUAS como
Provas
Questão presente nas seguintes provas
Cadernos
Caderno Container