Magna Concursos

Foram encontradas 1.096 questões.

2549395 Ano: 2022
Disciplina: Engenharia Civil
Banca: FURB
Orgão: Pref. Camboriú-SC
Provas:

Os componentes de instalações hidráulicas são variáveis e cada um possui uma função específica. Nesse contexto, associe as colunas:

Coluna 1

A.(__) Sulco.

B.(__) Registro de utilização.

C.(__) Barrilete.

Coluna 2

I - Cavidade destinada a acomodar tubulações de água, aberta ou pré-moldada, de modo a não afetar a resistência da parte do edifício na qual é executada e onde o acesso só pode se dar pela destruição da cobertura ou das coberturas.

II - Componente instalado na tubulação e destinado a controlar a vazão da água utilizada, geralmente empregam-se registros de pressão ou válvula-globo em sub-ramais.

III - Tubulação que se origina no reservatório e da qual derivam as colunas de distribuição, quando o tipo de abastecimento é indireto. No caso de tipo de abastecimento direto, pode ser considerado como a tubulação diretamente ligada ao ramal predial ou diretamente ligada à fonte de abastecimento particular.

Assinale a alternativa que apresenta a correta associação entre as colunas:

 

Provas

Questão presente nas seguintes provas
2549394 Ano: 2022
Disciplina: Engenharia Civil
Banca: FURB
Orgão: Pref. Camboriú-SC
Provas:

Um Encanador, ao analisar um projeto de água fria e quente para realizar suas atividades, deparou-se com algumas abreviações/simbologias. Dentre elas, estavam REQ; CB; EXTR e RP. Assinale a alternativa CORRETA que corresponde, respectivamente, à legenda para essas abreviações/simbologias:

 

Provas

Questão presente nas seguintes provas
2549393 Ano: 2022
Disciplina: Engenharia Civil
Banca: FURB
Orgão: Pref. Camboriú-SC
Provas:

No mercado, existem vários tipos de válvulas com funcionalidades diferentes, para fechamento, para regulagem, para controle, para fluxo de direção, para segurança (alívio) e para redução de pressão. A respeito de válvulas de fluxo em uma só direção, assinale a alternativa CORRETA:

 

Provas

Questão presente nas seguintes provas
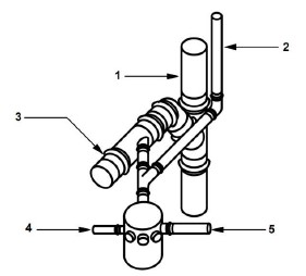
2549392 Ano: 2022
Disciplina: Engenharia Civil
Banca: FURB
Orgão: Pref. Camboriú-SC
Provas:

Em um desenho de detalhamento das tubulações de esgoto de um prédio, estava a seguinte imagem:

Enunciado 3039736-1

Assinale a alternativa que se refere à nomenclatura CORRETA dos pontos numerados, considerando que se trata do esgoto do banheiro do primeiro pavimento:

 

Provas

Questão presente nas seguintes provas
2549391 Ano: 2022
Disciplina: Engenharia Civil
Banca: FURB
Orgão: Pref. Camboriú-SC
Provas:

O desenho de tubulação das instalações prediais é feito por meio de representações baseadas nos princípios das projeções ortogonais. A este respeito, analise as afirmações a seguir:

I - Planta é uma vista superior da tubulação.

II - Elevações são vistas de frente e laterais da tubulação.

III - Perspectiva é o desenho isométrico ou perspectiva paralela da tubulação.

IV - Os desenhos em detalhes representam o tubo em escala, isto é, dando a sua grossura desenhada pela bitola e as conexões e válvulas como se fossem desenhos reais desses acessórios.

É CORRETO o que se afirma em:

 

Provas

Questão presente nas seguintes provas
2549390 Ano: 2022
Disciplina: Engenharia Civil
Banca: FURB
Orgão: Pref. Camboriú-SC
Provas:

A simbologia gráfica é muito utilizada nos projetos hidrossanitários para sinalizar um tipo de tubulação. Analise a tabela a seguir que apresenta a descrição e o símbolo utilizado nos projetos hidrossanitários:

Enunciado 3039734-1

Assinale a alternativa que apresenta a correlação CORRETA do símbolo apresentado com a descrição:

 

Provas

Questão presente nas seguintes provas
2549389 Ano: 2022
Disciplina: Engenharia Civil
Banca: FURB
Orgão: Pref. Camboriú-SC
Provas:

Nas instalações de uma torneira, chuveiro, etc, deve-se levar em consideração alguns cuidados. Dos cuidados descritos a seguir, assinale a alternativa CORRETA:

 

Provas

Questão presente nas seguintes provas
2549388 Ano: 2022
Disciplina: Engenharia Civil
Banca: FURB
Orgão: Pref. Camboriú-SC
Provas:

A junta soldável é caracterizada pela união da ponta de um tubo com a bolsa de uma conexão de PVC ou com a bolsa de outro tubo por meio de soldagem a frio, utilizando adesivo apropriado à base de solvente orgânico, nessa execução devem ser adotados alguns procedimentos. Assinale a alternativa CORRETA:

 

Provas

Questão presente nas seguintes provas
2549387 Ano: 2022
Disciplina: Engenharia Civil
Banca: FURB
Orgão: Pref. Camboriú-SC
Provas:

A limpeza de um reservatório tem ser realizada periodicamente para manter a integridade da água que está sendo armazenada e possui de 16 a 20 passos. Analise alguns deles citados a seguir e assinale a alternativa CORRETA:

 

Provas

Questão presente nas seguintes provas
2549386 Ano: 2022
Disciplina: Engenharia Civil
Banca: FURB
Orgão: Pref. Camboriú-SC
Provas:

Para instalação correta de uma torneira, são necessárias algumas ferramentas. Assinale a alternativa CORRETA:

 

Provas

Questão presente nas seguintes provas