Foram encontradas 370 questões.
O concreto é basicamente uma mistura de cimento, água e agregados. Sobre o concreto enquanto material de construção, analise as afirmativas a seguir.
I. O cimento age como aglomerante que une os agregados.
II. O uso de agregados permite uma maior economia do concreto produzido, bem como garante uma menor retração na cura, evitando fissuras prematuras indesejadas.
III. O concreto simples possui uma baixa resistência à tração e alta à compressão, sendo ideal para uso em pilares e vigas longas sem necessidade de outro material.
Marque a opção que indica a(s) afirmativa(s) CORRETA(S).
Provas
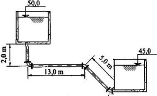
Suponha que no esquema hidráulico a seguir, somente a perda nos cotovelos de 90º e nos dois cotovelos de 45º mais a perda distribuída ao longo da tubulação agem no sistema. Considerando que a perda de carga no cotovelo de 90º seja estimada em 10,00 vezes o diâmetro do tubo e que a perda de carga seja de 5,00 vezes o diâmetro do tubo para cada cotovelo de 45º, qual a perda de carga distribuída ao longo da tubulação? Sabe-se que o diâmetro do tubo é de 150 mm em todo o sistema.

Marque a opção CORRETA.
Provas
Em Engenharia Civil é comum utilizarmos diferentes sistemas de unidades. Nesse contexto temos a unidade de quilograma-força (kgf), da qual podemos afirmar que
Provas
A gipsita, também conhecida como pedra de gesso, é muito usada na Construção Civil. Leia as alternativas a seguir em relação a essa afirmativa e marque a INCORRETA.
Provas
O cimento é um aglomerante hidráulico que, em contato com a água, produz a cristalização de produtos hidratados, ganhando assim resistência mecânica.
Essa reação pode ser classificada como
Provas
Após acionar a descarga num vaso sanitário, observouse que, ao final do enchimento da caixa de água acoplada para a próxima descarga, uma vibração intensa na ducha instalada ao lado do vaso. Esse fenômeno pode ser explicado por
Provas
Observe e considere os seguintes símbolos:
Apoio simples ou apoio do 1º gênero |
|
Apoio de 2º gênero |
|
Apoio Engastado (3º gênero) |
|
Articulação ou Rótula |
|
Considere os esquemas a seguir de estruturas. Qual esquema representa uma estrutura hiperestática?
Provas
Observe o diagramade uma viga biapoiada. Qual o valor das reações de apoio em kgf? Observe q [kgf/m].

Marque a opção CORRETA.
Provas
Inventários florestais são utilizados em vários tipos de levantamentos para fins de reconhecimento, diagnósticos e avaliações no campo florestal. Sobre as técnicas e conceitos que envolvem os inventários florestais, analise as afirmativas a seguir e marque (V) para as VERDADEIRAS e (F) para as FALSAS.
( ) A técnica da estratificação faz-se necessária sempre que existam vários tipos florestais dentro de uma mesma área. Os estratos são extensões de florestas com características similares.
( ) A cubagem rigorosa é a forma mais apropriada para quantificar o volume do fuste de uma árvore. Por essa técnica, secciona-se o fuste em várias partes menores, mensurando-as individualmente. Após calcular o volume dessas partes individualmente, somam-se esses volumes para obter o volume total do fuste.
( ) Para se calcular o fator de empilhamento (fe) deve-se proceder a derrubada e o seccionamento de algumas árvores na floresta ou na unidade amostral, realizar a cubagem rigorosa destas árvores, empilhá-las e realizar a medição do sólido geométrico formado pela pilha de madeira.
( ) A amostragem simples, quando comparada a amostra sistemática, apresenta algumas vantagens, dentre as quais: a seleção das unidades amostrais; na amostragem simples, é mais fácil e mais rápida; sendo a organização, a supervisão e a checagem de algumas unidades da amostra operacionalmente mais fáceis, bem como o tamanho da população não precisa, necessariamente, ser conhecida.
Marque a opção que apresenta a sequência CORRETA.
Provas
As árvores para sobreviverem e se desenvolverem têm que interagir com os outros seres vivos, sem perderem de vista a relação intrínseca com os fatores do ambiente e do solo. Sobre os principais conceitos de Ecologia assinale a opção INCORRETA.
Provas
Caderno Container