Foram encontradas 60 questões.
Uma barra confeccionada de dois materiais distintos de alumínio 6061 e carboneto de silício (SiC) são dispostas adjacentes de comprimento 500mm, cada parte, conforme ilustra figura abaixo.

Provas
Pretende-se dimensionar um eixo de aço SAE 1040 para aumentar a potência específica fornecida a um sistema, com uma determinada velocidade de rotação, pela modificação da geometria interna do eixo.
Esse eixo maciço, de 800mm de comprimento e 150mm de diâmetro, encontra-se acoplado a um sistema de potência a gás, para transmitir uma potência de 120kW a uma velocidade de rotação de 200 rot/min.
Modifica-se esse eixo maciço para vazado, com intuito de reduzir o peso, confeccionando-o com diâmetro interno de 100mm e mantém-se o seu diâmetro externo e o material. Pede-se determinar o torque que poderia ser empregado nesse novo eixo vazado para que não ultrapassasse a tensão de cisalhamento máxima obtida para o caso anterior do eixo maciço e o percentual de acréscimo na potência específica (razão entre a potência transmitida e o peso do eixo), respectivamente.
Observação: As propriedades mecânicas e físicas do aço SAE 1040 são descritas por: módulo de elasticidade 200 GPa, coeficiente de Poisson 0,3, tensão de escoamento ao cisalhamento 175 MPa, limite elástico 280 MPa, tensão de ruptura à tração 480 MPa, tensão de ruptura ao cisalhamento 350 MPa, massa específica 7800kg/m3 e o coeficiente de expansão térmica linear 12.10–6 oC–1.
Provas
Provas
Um estudante de engenharia pretendia obter o Módulo de Elasticidade de um material que havia sido comprado em barras de seção transversal quadrada para montagem de estruturas metálicas para fins acadêmicos e que ficou estocado no Almoxarifado da Universidade por um bom tempo. Ele sugeriu ao professor o uso de um extensômetro (strain-gage) axial devidamente colocado em uma viga em balanço, pois em sua universidade não estava disponível o equipamento para ensaio de tração. Apesar de a compra das barras de alumínio ter sido de empresa com certificado ISO 9001, o professor achou por bem levantar essa propriedade do material. No experimento, usou uma barra de 500mm de comprimento, de largura de 3,0mm e altura de 5,0mm e colou o extensômetro axial, na direção longitudinal da barra, a 250mm da extremidade livre. Preparado o experimento, pendurou na extremidade livre, a 500mm, um peso de 1,0Kgf devidamente aferido em balança e obteve um resultado de 1.000,0%uDBC0%uDC09m. Diante desse resultado, o estudante, recorrendo à teoria clássica de viga em flexão, e aplicando-a corretamente, obteve o seguinte resultado para o Módulo de Elasticidade do material:
Provas
Verifica-se que um material está submetido ao estado plano de tensões, ilustrado na figura abaixo. Determine a tensão normal máxima e a tensão cisalhante máxima, ambos em MPa.

Provas
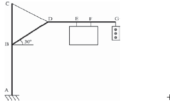
Um semáforo característico no centro da cidade do Rio de Janeiro é mostrado na figura abaixo. Além de suspender o equipamento de sinalização de trânsito com as três cores características (vermelha, amarela e verde), pesando 30kg, também suspende placas de localização por cabos, as quais pesam em média 15kg. As barras de suporte são de alumínio com proteção superficial e cilíndricas, geralmente, com diâmetro interno de 100mm e externo de 120mm, e há também um cabo de aço de sustentação CD de 1,0 metro, com 15mm de diâmetro. Pede-se determinar o esforço axial do cabo CD para que o semáforo esteja em equilíbrio estático. Presume-se que os comprimentos sejam: AB = 2,5 m, BC = 1,0 m, BD = 1,0 m, DE = 1,0 m, EF = 0,6 m, FG = 0,8 m, a aceleração da gravidade 10m/s2 e que ventos não sejam observados.

Provas
Provas
Provas
de modo que os trilhos apenas
se toquem quando T1 = 20oC e T2 = 70oC.Provas
Provas
Caderno Container