Foram encontradas 40 questões.
A determinação dos teores de glicerina livre e de glicerina combinada (mono, di e triglicerídeos) em amostras de biodiesel é feita por Cromatografia Gasosa de Alta Resolução, de acordo com as seguintes condições, recomendadas por um determinado método:
• Coluna de 15 m x 0,32 mm x 0,1 m, com fase 95% de dimetilpolisiloxano e 5% de fenilmetilpolisiloxano.
• Temperatura do forno da coluna de 50 ºC durante 1 min, depois 15 ºC/min até 180 ºC, depois 7 ºC/min até 230 ºC, depois 20 ºC/min até 380 ºC durante 10 min.
• Gás de arraste Hélio a 1,0 mL min−1.
• Volume injetado 1,0 L.
• Injetor on-column acompanhando a temperatura do forno da coluna.
• Detector por Ionização em Chama (DIC) com temperatura do forno do detector de 380°C.
• Vazões do nitrogênio, do hidrogênio e do ar sintético para o DIC de 30 mL/min, 30 mL/min e 400 mL/min, respectivamente.
• Reagente silanizante é MSTFA (N-metil-N-trimetilsililtrifluoracetamida).
• Padrão interno é tricaprina.
Sobre as condições recomendadas pelo método, conclui-se que a(o)
Provas
MnO4–(aq)/ Mn2+(aq) E0 = 1,51 V
Cl2(g)/Cl– (aq) E0 = 1,36 V
Cr2O72–(aq)/Cr3+(aq) E0 = 1,33 V
O2(g)/H2O(!$ \ell !$) E0 = 1,23 V
Com base nos valores acima, relativos ao potencial padrão do eletrodo, analise as afirmativas a seguir.
I - Nas condições padrão, o permanganato reage com a água, oxidando-a a gás oxigênio.
II - O poder oxidante do dicromato é menor quando o pH do meio varia de zero para três.
III - O valor do pH do meio reacional não afeta o valor do potencial do eletrodo Cl2(g)/Cl– (aq).
IV - Considerando-se as condições padrão, o gás oxigênio é o de maior poder oxidante dentre as espécies apresentadas.
Estão corretas APENAS as afirmativas
Provas
O elemento X possui as seguintes propriedades:
• sua afinidade eletrônica é a maior dentre as dos elementos de seu período da tabela periódica;
• a energia de ionização desse elemento é a segunda maior dentre as dos elementos de seu período da tabela periódica.
A fórmula química correta do composto iônico que contém o íon característico do elemento X é
Provas
O biodiesel é classificado como um
Provas
A respeito do glicerol, analise as proposições a seguir.
I – É conhecido, também, como 1,2,3-propanotriol.
II – Tem ponto de ebulição maior que o álcool etílico.
III – Não é solúvel em água, mas é solúvel em éter etílico.
IV – É um dos subprodutos da saponificação dos óleos e das gorduras.
Estão corretas APENAS as proposições
Provas
Considere o texto e as figuras abaixo para responder à questão
Os óleos vegetais são produtos naturais formados por uma mistura de ésteres derivados do glicerol, nos quais os seus devidos ácidos carboxílicos contêm cadeias carbônicas longas com diferentes graus de insaturação, conforme os dois exemplos representados na figura abaixo.

Os óleos vegetais são importantes para a indústria alimentícia, os lubrificantes, o biodiesel, entre outros. O biodiesel é um combustível biodegradável obtido por meio da reação de óleos ou gorduras vegetais com metanol ou etanol, utilizando-se um catalisador, conforme indicado na reação a seguir.

O óleo vegetal utilizado na reação de obtenção do biodiesel é um(a)
Provas
Em um determinado tubo padrão de Raios X, uma fonte de alta tensão acelera elétrons livres a partir de velocidades desprezíveis, em sentido a um alvo metálico sólido. Durante a colisão, os elétrons são desacelerados, e ocorre a emissão de Raios X. O gráfico a seguir especifica a distribuição espectral dos Raios X obtidos no tubo em questão.

Considere: (1) a constante de Planck h igual a 6,63 × 10−34 J.s;
(2) a velocidade da luz c igual a 3,00 × 108 m/s;
(3) a carga do elétron e igual a 1,6 × 10−19 C;
(4) hc/e = 1,24 × 10−6 J.m/C.
A tensão, nesse tubo de Raio X, em quilovolts, vale
Provas
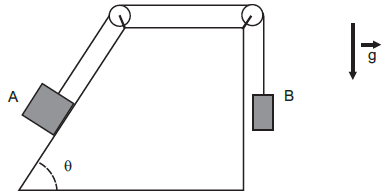
Dois blocos, A e B, de mesma massa m, estão ligados através de um fio inextensível e de massa desprezível, conforme ilustrado na figura abaixo. As polias podem ser consideradas ideais. Os blocos encontram-se em movimento uniforme.

Sabendo-se que a aceleração da gravidade local é g, o coeficiente de atrito entre o corpo A e o plano inclinado é
Provas
Um calorímetro ideal encontra-se em equilíbrio térmico com uma mistura existente no seu interior, composta de 100 g de gelo a 0 ºC e 400 g de água. Que transformação ocorrerá com essa mistura se 10 g de vapor de água, a 100 ºC, forem transferidos para o interior do calorímetro?
Considere: (1) o calor específico sensível da água igual a 1,0 cal/g ºC; (2) o calor específico latente de fusão do gelo igual a 80 cal/g e (3) o calor específico latente de vaporização da água igual a 540 cal/g.
Provas
Três fluidos imiscíveis foram derramados em um vaso com o formato de cone truncado. Após a decantação, os fluidos se depositaram no vaso, tal como esquematizado abaixo.

Sabe-se que: (1) as massas específicas dos fluidos são 2,0 g/cm3, 4,0 g/cm3 e 10 g/cm3; (2) a área, na superfície livre do líquido, posicionado na camada superior, vale 100 cm2; (3) a área inferior do vaso é 10 cm2 e (4) a aceleração da gravidade local é 10 m/s2. Toda a experiência ocorre no interior de uma câmara fechada, onde a pressão atmosférica é mantida artificialmente a 2,0 Pa. A força exercida sobre o fundo do vaso pelos fluidos, em newtons, é
Provas
Caderno Container