Foram encontradas 400 questões.
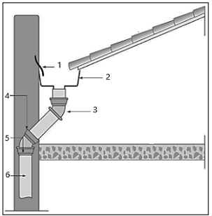
Sobre captação de águas pluviais, analise a imagem a seguir:

(Fonte: JÚNIOR, Roberto de Carvalho. Instalações prediais hidráulico- -sanitárias: princípios básicos para elaboração de projetos. São Paulo: Blucher, 2014. 1ª ed. digital 2018. 262p.)
A associação está correta em

(Fonte: JÚNIOR, Roberto de Carvalho. Instalações prediais hidráulico- -sanitárias: princípios básicos para elaboração de projetos. São Paulo: Blucher, 2014. 1ª ed. digital 2018. 262p.)
A associação está correta em
Provas
Questão presente nas seguintes provas
O ciclo PDCA evidencia o princípio da melhoria contínua, sendo
entendido como um conjunto de ações ordenadas e interligadas, dispostas graficamente em um círculo no qual cada quadrante corresponde a uma fase do processo. Correspondem a
ações descritas na fase “D”:
Provas
Questão presente nas seguintes provas
São consideradas sequências de atividades que pertencem
ao grupo de dependência de lógica rígida, EXCETO:
Provas
Questão presente nas seguintes provas
Considerando o uso de vegetação no tecido urbano e sua
contribuição ao aumento da sensação de conforto térmico
na escala microclimática, analise as afirmativas a seguir.
I. Sugere-se a utilização de espécies com copas mais densas.
II. Para a implantação de um grupo de árvores é preferível utilizar copas de tamanhos diferentes.
III. Sugere-se evitar o distanciamento entre as copas.
IV. Para a implantação de um grupo de árvores é preferível usar espécies intercaladas.
Está correto o que se afirma apenas em
I. Sugere-se a utilização de espécies com copas mais densas.
II. Para a implantação de um grupo de árvores é preferível utilizar copas de tamanhos diferentes.
III. Sugere-se evitar o distanciamento entre as copas.
IV. Para a implantação de um grupo de árvores é preferível usar espécies intercaladas.
Está correto o que se afirma apenas em
Provas
Questão presente nas seguintes provas
O cronograma físico-financeiro compõe o projeto básico e
apresenta as despesas mensais previstas para serem incorridas ao longo da execução de uma obra. Sobre a importância
do cronograma físico-financeiro para elaboração de orçamentos públicos, assinale a afirmativa INCORRETA.
Provas
Questão presente nas seguintes provas
A menor unidade de medida linear da coordenação modular,
representada convencionalmente pela letra ‘M’, possui como
valor normalizado, em metros:
Provas
Questão presente nas seguintes provas
O desenho universal foi idealizado para ser aplicado na concepção de projetos, produtos, ambientes e serviços, para que
eles sejam utilizados por todas as pessoas, sem haver necessidade de adaptação ou projeto específico, incluindo:
Provas
Questão presente nas seguintes provas
O acervo técnico constitui propriedade do profissional arquiteto e urbanista, sendo composto por todas as atividades por
ele desenvolvidas, resguardando-se a legislação do direito
autoral. Diante do exposto, assinale a afirmativa INCORRETA.
Provas
Questão presente nas seguintes provas
Analise o esquema de instalação hidrossanitária apresentado a seguir:

(Fonte: JÚNIOR, Roberto de Carvalho. Instalações prediais hidráulico- -sanitárias: princípios básicos para elaboração de projetos. São Paulo: Blucher, 2014. 1ª ed. digital 2018. 262p.)
Sobre o dimensionamento dos componentes do sistema predial de água fria, assinale a afirmativa correta.

(Fonte: JÚNIOR, Roberto de Carvalho. Instalações prediais hidráulico- -sanitárias: princípios básicos para elaboração de projetos. São Paulo: Blucher, 2014. 1ª ed. digital 2018. 262p.)
Sobre o dimensionamento dos componentes do sistema predial de água fria, assinale a afirmativa correta.
Provas
Questão presente nas seguintes provas
O diagrama de setas a seguir contempla uma sequência de
atividades para implantação de um empreendimento e suas
respectivas durações:

Considerando o exposto, assinale a afirmativa INCORRETA.

Considerando o exposto, assinale a afirmativa INCORRETA.
Provas
Questão presente nas seguintes provas
Cadernos
Caderno Container