Foram encontradas 890 questões.
Os lipídeos estão relacionados com o extrato etéreo que se enquadra no esquema de Weende, sendo classificados como gorduras ou substâncias orgânicas. Sobre os lipídeos, assinale a afirmativa CORRETA:
Provas
As proteínas são moléculas compostas por uma série de aminoácidos e desempenham um papel essencial nas funções biológicas do metabolismo animal. Elas estão presentes no conteúdo celular, têm funções estruturais e enzimáticas, ajudam no armazenamento de informações genéticas, atuam como receptores de sinais e desempenham muitas outras funções importantes.
Sobre as proteínas, assinale a afirmativa INCORRETA:
Provas
Os carboidratos (CHO) são substâncias orgânicas constituídas por hidrogênio, oxigênio e carbono e essenciais para a nutrição animal. Sobre os carboidratos, assinale a afirmativa CORRETA.
Provas
Define-se alimento como todo material ingerido, sendo capaz de ser digerido, absorvido e utilizado. Os alimentos podem ser classificados como concentrados e volumosos. Sobre esses alimentos, assinale a afirmativa CORRETA:
Provas
A fim de garantir uma boa qualidade à ensilagem, devemos considerar alguns fatores, EXCETO:
Provas
A técnica de fenação objetiva a conservação de pastagens. Sobre essa técnica, é CORRETO afirmar que:
Provas
Sobre a técnica de vedação das pastagens, analise as afirmativas abaixo e assinale a INCORRETA:
Provas
Quando pensamos em um bom capim para alimentação dos animais, devemos levar em consideração as seguintes características, EXCETO:
Provas
A capacidade operacional de máquinas agrícolas é a quantidade de trabalho (produção) que um conjunto mecanizado (trator/animal + implemento) é capaz de executar por uma unidade de tempo. O fator de campo (f), conforme quadro abaixo, diz respeito à porcentagem do tempo total realmente utilizado em trabalho efetivo.

Considere uma operação de aração a uma velocidade de 6 km/h e largura de trabalho de 2,5 m, seguida de uma operação com grade niveladora a uma velocidade de 8 km/h e largura de trabalho de 3,0 m. Nesse caso, a capacidade de campo efetiva da aração, a capacidade de campo efetiva da gradagem e o número de dias para preparar 100 hectares (arar e gradear), considerando um turno de 8 h/dia são, RESPECTIVAMENTE:
Provas
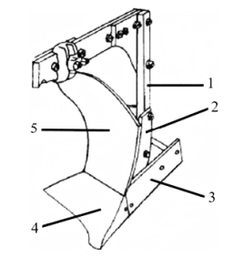
Na figura abaixo é apresentada a constituição de uma aiveca. As partes representadas pelos números 1, 2, 3, 4 e 5 são, RESPECTIVAMENTE:

Provas
Caderno Container