Magna Concursos

Foram encontradas 106 questões.

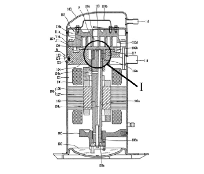
806903 Ano: 2014
Disciplina: Engenharia Mecânica
Banca: CESPE / CEBRASPE
Orgão: FUB
Provas:

enunciado 806903-1

Considerando a figura acima, retirada de um catálogo técnico de um fabricante de compressores, julgue os itens de 98 a 101.

Em relação a outras tecnologias, o compressor mostrado na figura acima apresenta maior eficiência volumétrica e reduzido nível de ruído e vibração.
 

Provas

Questão presente nas seguintes provas
806902 Ano: 2014
Disciplina: Engenharia Mecânica
Banca: CESPE / CEBRASPE
Orgão: FUB
Provas:

enunciado 806902-1

Considerando a figura acima, retirada de um catálogo técnico de um fabricante de compressores, julgue os itens de 98 a 101.

A figura ilustra um compressor do tipo centrífugo.
 

Provas

Questão presente nas seguintes provas
806901 Ano: 2014
Disciplina: Engenharia Mecânica
Banca: CESPE / CEBRASPE
Orgão: FUB
Provas:

enunciado 806901-1

A análise do desempenho de motores de combustão interna pode ser feita pelo uso de diagramas pressão versus volume e temperatura versus entropia, como os mostrados acima. No que se refere a esses diagramas, julgue os itens que se seguem.

As áreas no interior do ciclo 1-2-3-4-1 das figuras Ia e IIa fornecem o calor cedido ao ciclo motor pela reação de combustão no interior do cilindro.
 

Provas

Questão presente nas seguintes provas
806900 Ano: 2014
Disciplina: Engenharia Mecânica
Banca: CESPE / CEBRASPE
Orgão: FUB
Provas:

enunciado 806900-1

A análise do desempenho de motores de combustão interna pode ser feita pelo uso de diagramas pressão versus volume e temperatura versus entropia, como os mostrados acima. No que se refere a esses diagramas, julgue os itens que se seguem.

Os diagramas ilustrados representam, nas figuras Ia e Ib, o ciclo de ar-padrão Otto; em IIa e IIb, o ciclo de ar-padrão Diesel.
 

Provas

Questão presente nas seguintes provas
806899 Ano: 2014
Disciplina: Engenharia Mecânica
Banca: CESPE / CEBRASPE
Orgão: FUB
Provas:

enunciado 806899-1

A análise do desempenho de motores de combustão interna pode ser feita pelo uso de diagramas pressão versus volume e temperatura versus entropia, como os mostrados acima. No que se refere a esses diagramas, julgue os itens que se seguem.

No ciclo Diesel, o fornecimento de calor é representado pelo processo isocórico 2-3 das figuras Ia e Ib.
 

Provas

Questão presente nas seguintes provas
806898 Ano: 2014
Disciplina: Engenharia Mecânica
Banca: CESPE / CEBRASPE
Orgão: FUB
Provas:

enunciado 806898-1

Com base nas figuras acima, que ilustram circuitos pneumáticos de acionamento de cilindro, julgue os itens a seguir.

Na figura I, um cilindro de simples ação é comandado por válvula direcional 2/2 com acionamento por botão e retorno por mola.
 

Provas

Questão presente nas seguintes provas
617689 Ano: 2014
Disciplina: Engenharia Mecânica
Banca: CESPE / CEBRASPE
Orgão: FUB
Provas:

enunciado 617689-1

Com base nas figuras acima, que ilustram circuitos pneumáticos de acionamento de cilindro, julgue os itens a seguir.

Na figura III, um cilindro de simples ação é comandado por válvula de três posições de centro fechado.
 

Provas

Questão presente nas seguintes provas
617688 Ano: 2014
Disciplina: Engenharia Mecânica
Banca: CESPE / CEBRASPE
Orgão: FUB
Provas:

enunciado 617688-1

Com base nas figuras acima, que ilustram circuitos pneumáticos de acionamento de cilindro, julgue os itens a seguir.

Na figura II, um cilindro de dupla ação é comandado por válvula direcional 5/2 com acionamento por duplo solenoide.
 

Provas

Questão presente nas seguintes provas
617687 Ano: 2014
Disciplina: Engenharia Mecânica
Banca: CESPE / CEBRASPE
Orgão: FUB
Provas:
Bombas centrífugas são máquinas de fluxo de aplicação extremamente comum em instalações mecânicas diversas, tais como os circuitos de distribuição de água gelada em sistemas centrais de ar-condicionado. Considerando a seleção, instalação e operação de bombas centrífugas, julgue os itens subsequentes.
Entre os diversos aspectos relevantes a respeito da instalação de uma bomba centrífuga inclui-se a recomendação do uso de reduções da bitola na sucção da bomba e de alturas de sucção elevadas.
 

Provas

Questão presente nas seguintes provas
617686 Ano: 2014
Disciplina: Engenharia Mecânica
Banca: CESPE / CEBRASPE
Orgão: FUB
Provas:
Bombas centrífugas são máquinas de fluxo de aplicação extremamente comum em instalações mecânicas diversas, tais como os circuitos de distribuição de água gelada em sistemas centrais de ar-condicionado. Considerando a seleção, instalação e operação de bombas centrífugas, julgue os itens subsequentes.
A seleção de uma bomba centrífuga requer principalmente o conhecimento dos valores nominais da vazão e da elevação de pressão a serem estabelecidos em operação. A bomba que melhor atende a essa condição de operação é aquela cujos valores de vazão e elevação de pressão sobre sua curva característica resultem no maior rendimento possível.
 

Provas

Questão presente nas seguintes provas