Foram encontradas 513 questões.
Avalie as asserções abaixo sobre a formação do ponto digital nas artes gráficas e a relação proposta entre elas.
I . Quanto maior a resolução, maior a qualidade da imagem digitalizada, pois mais precisos serão os detalhes capturados pelo maior número de pixel utilizado por polegada.
PORQUE
II . Quanto menor a resolução da matriz de pixel, maior a “pixealização”, ou seja, o efeito escada que aparece nas imagens.
Em relação às asserções, é correto afirmar que
Provas
Complete corretamente as lacunas do texto.
Uma letra é composta basicamente de dois elementos: ______________ e ______________. Outros elementos de importância secundária compõem as partes de uma letra como, por exemplo, a ___________, que é o corte que algumas letras apresentam em suas estruturas.
A sequência que preenche corretamente as lacunas do texto é
Provas
- Comunicação e Programação VisualMensagem Visual
- Cor
- Linguagem, Suporte e Tecnologia
- Produção Gráfica
Para Farina (2006, p.147) “um bolo em cuja embalagem predomine a cor verde pode, influenciado por esta, sugerir a ideia de um produto mofado. Os produtos alimentícios embalados em cores claras sugerem um sabor menos acentuado do que outros em cores fortes. Por exemplo, um doce de goiaba, cuja embalagem seja de um vermelho esmaecido, não pode sugerir o agressivo sabor da goiaba.”
Com relação aos problemas apontados pelo texto acima, é correto afirmar que
Provas
Informe se é verdadeiro (V) ou falso (F) o que se afirma abaixo sobre as imagens digitais.
( ) As vetoriais, quando redimensionadas, sofrem pixealização.
( ) As vetoriais permitem uma boa qualidade de escalonamento.
( ) A maioria dos softwares de artes gráficas pode lidar com vetores e bitmaps.
( ) Bitmap é um termo genérico e pode referir-se a imagem composta por pixels.
De acordo com as afirmações, a sequência correta é
Provas
Associe as colunas, relacionando o software gráfico à sua respectiva função.
SOFTWARES
(1) InDesign
(2) Illustrator
(3) Photoshop
(4) Premier Pro
FUNÇÕES
( ) Produção e edição de vídeos.
( ) Ilustrações e gráficos vetoriais.
( ) Edição e composição de imagens.
( ) Layout de páginas para publicação impressa e digital.
A sequência correta dessa associação é
Provas
Através de alguns softwares gráficos, um documento pode ser exportado como um arquivo PDF. Esse PDF pode ser visualizado, compartilhado e impresso em qualquer plataforma, desde que os usuários possuam o Adobe Acrobat, o Adobe Reader ou um leitor compatível com PDF instalado em seus computadores.
Ao exportar um documento como arquivo PDF, é possível escolher dentre diversas predefinições de PDF, que aplicam configurações específicas.
É correto afirmar que a predefinição de um PDF gerado por um desses softwares gráficos é
Provas
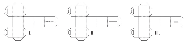
Considere a caixa montada.

Avalie se as figuras abaixo são planificações dessa caixa.

Contém planificação correta da caixa apenas o que está representado em
Provas
Associe as colunas, relacionando o formato de papel A à sua medida, em centímetros.
FORMATOS DE PAPEL
(1) A3
(2) A4
(3) A5
(4) A6
MEDIDAS
( ) 21 X 29,7
( ) 29,7 X 42
( ) 14,8 X 21
( ) 10,5 X 14,8
Provas
Informe se é verdadeiro (V) ou falso (F) o que se afirma abaixo acerca das regras de registros e de marcas.
( ) Se uma empresa registrar um nome em uma categoria, outra empresa não pode registrar o mesmo nome em outra categoria.
( ) A marca registrada garante a propriedade e o uso exclusivo em todo o território nacional por dez anos.
( ) O registro de um domínio é permitido, mesmo se houver domínio equivalente pertencente a outro titular.
( ) Nomes para a web devem respeitar algumas regras sintáticas, como tamanho mínimo e máximo de caracteres.
De acordo com as afirmações, a sequência correta é
Provas
Existem três formas geométricas básicas: o quadrado, o círculo e o triângulo equilátero. Cada uma das formas tem suas características específicas e cada uma possui uma grande quantidade de significados, alguns por associação, outros por vinculação arbitrária e outros, ainda, através de nossas próprias percepções psicológicas e fisiológicas.
A esse respeito, complete corretamente as lacunas do texto abaixo.
Ao __________________________ se associam enfado, honestidade, retidão e esmero; ao _______________________, ação, conflito, tensão; ao ______________________, infinitude, calidez, proteção. Todas as formas básicas são figuras planas e simples, fundamentais, que podem ser facilmente descritas e construídas, tanto visual quanto verbalmente.
A sequência que preenche corretamente as lacunas do texto é
Provas
Caderno Container