Foram encontradas 100 questões.
No topo do mastro de um navio, encontra-se uma luz de navegação que acende quando uma fonte de tensão lhe transmite corrente contínua. Contudo, a distância entre a bateria e a lâmpada é grande o suficiente para que a resistência elétrica do fio condutor de cobre seja relevante. Sabendo que a resistividade do cobre é de \( \rho = 0.016 \dfrac{\Omega m}{mm^2} \),, mm que a área do fio é 1,6mm' e que o seu comprimento é de 200 metros e, considerando uma fonte de tensão de 24V e a resistência elétrica da lâmpada de 22\( \Omega \). Calcule a resistência do fio e a queda de tensão na lâmpada e assinale a opção correta.
Dado: Resistência de um cabo \( R_{fio} = \dfrac{\rho L}{A} \).
Provas
Uma câmara de refrigeração de um navio utiliza gás CO2 como refrigerante. Este gás encontrava-se inicialmente a -10ºC e, após a troca de calor, o gás passou para a temperatura de 50ºC e para a pressão atmosférica de • 1 atm. Considerando que o processo aconteceu a volume específico constante, calcule a pressão do gás, em atm, quando o gás estava refrigerado e assinale a opção correta.
Provas
Um submarino pode emitir um pulso sonoro para procurar objetos e alvos e determinar as suas distancias pelo sonar. Esse pulso se move na velocidade do som do meio e retorna ao colidir com um objeto. O intervalo de tempo calculado entre o momento da emissão do sinal e o seu retorno pode ser utilizado para determinar a distancia até o objeto/alvo. Assim, como é denominado esse pulso sonoro de retorno?
Provas
Examine a figura abaixo:

Uma mina foi detectada visualmente flutuando abaixo da superfície do mar a uma profundidade de 1,0m. Sabendo do fenômeno da refração, um oficial solicitou que fosse determinada a verdadeira profundidade da mina para que ela fosse neutralizada. Com base nestas informações e supondo uma aproximação de pequenos ângulos, calcule a profundidade aproximada que se encontra a mina e assinale a opção correta.
Dados: Índice de refração da luz na água n2 = 1,33 e do ar n1 = 1.
Provas
Um canhão de tiro de um navio está apontado para outro alvo na superfície do mar distante de 16000m. A inclinação do navio mais o ângulo do canhão resultam em um ângulo de disparo de 45º. Sabendo que a altura máxima do projétil é atingida na metade do tempo necessário para atingir o alvo, calcule a velocidade inicial e a energia cinética inicial necessárias para que o projétil de 25kg acerte o alvo e assinale a opção correta. Considere a resistência do ar desprezível e \( g = 10m/s^2 \).
Dados: \( cos45º - sen 45º=\dfrac{\sqrt{2}}{2} \)
Provas
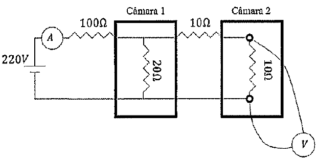
Examine a figura abaixo:

A temperatura de duas câmaras é aumentada através de uma sequência de resistores em série e paralelo, conforme o esquema elétrico na figura acima. Um militar foi designado para medir a tensão da câmara 2 e a corrente total do circuito e enviar o resultado o mais rápido possível ao seu superior. Considerando a tensão de entrada de 220V, assinale a opção correta que apresenta os valores que foram lidos no amperímetro e no voltímetro.
Provas
Um bloco de gelo de 2 kg de massa a -20ºC é colocado em contato com 1 00g de água em estado líquido a 60ºC. Supondo que o sistema se encontra em equilíbrio térmico após um longo intervalo de tempo e que não haja troca de calor com o ambiente, calcule a temperatura de equilíbrio do sistema e assinale a opção correta.
Dados: Calor específico da água= 1 cal/gºC.
Calor específico do gelo= 0,5 cal/gºC.
Calor latente da água de solidificação= 80 cal/g.
Provas
Assinale a opção que completa corretamente as lacunas da sentença abaixo.
Antes da invenção da agulha giroscópica, a bússola era a principal ferramenta de navegação a bordo. Graças da Terra, a bússola sempre aponta para o da Terra, porque a sua agulha possui .
Provas
Um navio parte para realizar uma missão. Devendo sair do Arsenal de Guerra em direção á entrada da Bala de Guanabara na velocidade de 1 O nós, após rumar por 30 minutos para sudoeste até as Ilhas Cagarras, distante de 5 milhas náuticas da entrada da bala e esperar em repouso por 1 hora. Em seguida, o navio deve rumar para o sul a 20 nós de velocidade, por 2 horas. Considerando a distância do arsenal até a entrada da Bala de 10 milhas náuticas, determine a velocidade média em m/s desse percurso e assinale a opção correta.
Dados: 1 nó 1,852km/h=0,514 m/s.
1 milha náutica = 1,852 m.
Provas
Examine a figura abaixo:

Um marinheiro é responsável por uma máquina que aciona um conjunto de três polias de raios diferentes, conforme a figura acima. A escolha de qual polia ele deve usar depende da tarefa a ser realizada, uma vez que a velocidade angular do motor é sempre constante. Logo, a correia deve mudar de posição, caso a tarefa exija maior ou menor velocidade. Se a tarefa exigir maior velocidade angular nas polias 2 e 3, assinale a opção que apresenta a configuração que o marinheiro deverá escolher.
Provas
Caderno Container