Magna Concursos

Foram encontradas 850 questões.

1675183 Ano: 2004
Disciplina: Engenharia Civil
Banca: CESPE / CEBRASPE
Orgão: DESO
Provas:
Acerca dos vários fatores que podem influenciar o desempenho de obras de concreto e que devem ser controlados de modo que se garantam os requisitos mínimos de segurança e qualidade de construções, julgue os itens que se seguem.
A resistência à compressão de um concreto é inversamente proporcional à relação água/cimento utilizada na sua confecção.
 

Provas

Questão presente nas seguintes provas
1675182 Ano: 2004
Disciplina: Engenharia Civil
Banca: CESPE / CEBRASPE
Orgão: DESO
Provas:

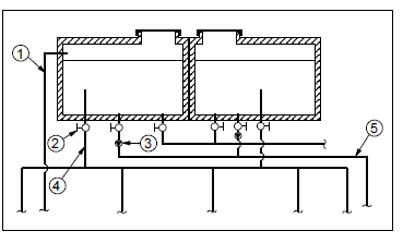
enunciado 1675182-1

Considerando a parte de uma instalação de água fria de um prédio esquematizada na figura acima, é correto afirmar que o componente

5 representa a tubulação para consumo de água fria pelos usuários do prédio.
 

Provas

Questão presente nas seguintes provas
1675181 Ano: 2004
Disciplina: Engenharia Civil
Banca: CESPE / CEBRASPE
Orgão: DESO
Provas:

enunciado 1675181-1

Considerando a parte de uma instalação de água fria de um prédio esquematizada na figura acima, é correto afirmar que o componente

4 representa o barrilete.
 

Provas

Questão presente nas seguintes provas
1675180 Ano: 2004
Disciplina: Engenharia Civil
Banca: CESPE / CEBRASPE
Orgão: DESO
Provas:

enunciado 1675180-1

Considerando a parte de uma instalação de água fria de um prédio esquematizada na figura acima, é correto afirmar que o componente

3 representa um registro de gaveta.
 

Provas

Questão presente nas seguintes provas
1675179 Ano: 2004
Disciplina: Engenharia Civil
Banca: CESPE / CEBRASPE
Orgão: DESO
Provas:

enunciado 1675179-1

Considerando a parte de uma instalação de água fria de um prédio esquematizada na figura acima, é correto afirmar que o componente

2 representa uma válvula de retenção.
 

Provas

Questão presente nas seguintes provas
1675178 Ano: 2004
Disciplina: Engenharia Civil
Banca: CESPE / CEBRASPE
Orgão: DESO
Provas:

enunciado 1675178-1

Considerando a parte de uma instalação de água fria de um prédio esquematizada na figura acima, é correto afirmar que o componente

1 representa a tubulação de recalque.
 

Provas

Questão presente nas seguintes provas
1675177 Ano: 2004
Disciplina: Engenharia Civil
Banca: CESPE / CEBRASPE
Orgão: DESO
Provas:
As chaves de faca com porta-fusíveis são dispositivos de proteção de circuitos que devem ser sempre instalados em locais abertos e de fácil acesso, de modo a facilitar reparos e manutenção.
 

Provas

Questão presente nas seguintes provas
1675176 Ano: 2004
Disciplina: Engenharia Civil
Banca: CESPE / CEBRASPE
Orgão: DESO
Provas:
O fator de demanda de uma instalação é o fator pelo qual deve ser multiplicada a potência instalada, de forma a obter-se a potência que será realmente utilizada.
 

Provas

Questão presente nas seguintes provas
1675175 Ano: 2004
Disciplina: Engenharia Civil
Banca: CESPE / CEBRASPE
Orgão: DESO
Provas:
Em unidades residenciais, devem ser previstos circuitos independentes para aparelhos de potência igual ou superior a 350 VA.
 

Provas

Questão presente nas seguintes provas
1675174 Ano: 2004
Disciplina: Engenharia Civil
Banca: CESPE / CEBRASPE
Orgão: DESO
Provas:
Circuitos de alarme e de proteção contra incêndio são exemplos de circuitos de segurança.
 

Provas

Questão presente nas seguintes provas