Foram encontradas 60 questões.
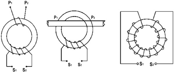
Observe os diferentes tipos construtivos de Transformadores de Corrente (TCs):

Da esquerda para a direita, são considerados, respectivamente, do tipo
Provas

Considere que, durante a medição do referido sinal periódico, ilustrado na imagem, observou-se o seguinte problema: o sinal exibido na tela do instrumento apresenta um lento “drift” que se manifesta como um deslocamento constante da forma de onda medida em direção a esquerda da tela. Sabendo que, a correção do problema, consiste apenas em ajustar, na operação do osciloscópio, o
Provas

Considere o osciloscópio digital acima, mostrando um sinal de comunicação analógico modulado. Admitindo o instrumento adequado para realizar a medição, assinale o tipo de modulação, exibido em tela.
Provas
Um sistema de comunicação analógica baseado em um receptor super-heteródino, tem seu diagrama de blocos dado por:

Ainda a respeito do receptor super-heteródino da imagem anterior, identifique a estratégia para haver controle de ganho automático AGC.
Provas
Um sistema de comunicação analógica baseado em um receptor super-heteródino, tem seu diagrama de blocos dado por:

A ideia básica do sistema é que uma emissora qualquer, centrada na frequência fc seja captada pela antena e tenha seu sinal amplificado pelo amplificador rf na entrada. O misturador, através do oscilador local, ajusta a frequência fLO de tal maneira que apenas a referida emissora “atravesse” o filtro seletivo com frequência fIF. Para que este princípio básico seja satisfeito, a correlação destas frequências deve ser
Provas
Suponha que se deseja implementar a camada física de uma rede através de um cabo de patch (direto), utilizando o padrão T568A. Para cripagem desse cabo, a sequência dos pinos 1 ao 8 do conector RJ45 é dada por
Provas
Suponha um cabo de rede genérico, descrito como CAT.6 F/UTP. De acordo com a estrutura física deste, ao realizarmos um “corte” no mesmo, devemos encontrar, em seu interior, pares de condutores isolados
Provas
O Relé de Bulchholz trata-se de um equipamento, com a função de
Provas
Suponha que se deseja identificar os terminais de um transistor, a partir de um multímetro digital.

Considere os seguintes procedimentos experimentais realizados com o intuito de identificação destes terminais, adotando, para as afirmativas a seguir, V (verdadeira) ou F (falsa).
( ) Quando se deseja identificar a base do transistor, deve-se proceder com os testes dos pinos do componente tomados “dois a dois” em ambos os sentidos, ou seja, posteriormente invertendo-se as ponteiras vermelha e preta em cada medida. Quando tem-se como resultado uma resistência elevada entre um par de terminais, nas duas configurações de ponteiras, isso indica que o terminal restante será a base.
( ) Tendo o terminal base identificado no componente, pode-se identificar o tipo do transistor (NPN ou PNP). Para o mesmo, conecta-se o terminal vermelho do multímetro na base, caso sejam obtidas baixas medidas desta. Para qualquer um dos outros terminais, temos uma indicação de condução e consequentemente um componente PNP. Caso contrário temos um componente NPN.
( ) Para a identificação do terminal coletor do transistor realiza-se um simples teste de continuidade entre o terminal e a “carcaça” do mesmo (parte metálica ao qual será conectado o dissipador no componente), uma vez que ambos são conectados.
Após análise, admite-se respectivamente, a seguinte ordem:
Provas
Seja um Tiristor com seu modelo e curva de característica estática representadas a seguir:

Considere agora as afirmações a seguir:
I. A indicação A, na curva característica, representa a tensão de ruptura reversa.
II. A indicação D, na curva característica, representa a corrente de travamento.
III. A indicação E, na curva característica, representa a corrente de fuga direta.
IV. Na região indicada por B, o tiristor encontra-se em estado bloqueado.
De acordo com as afirmações anteriores podemos indicar como falsas
Provas
Caderno Container