Foram encontradas 817 questões.
A fixação de placas de zinco ao casco de navios na região próxima ao hélice ajudará a prevenir o surgimento de ferrugem no casco.
Provas
No processo de galvanoplastia ou eletrodeposição metálica, no qual a reação de corrosão é invertida, a peça na qual vai haver a deposição é usada como anodo. Uma fonte externa força os elétrons a irem para o anodo, promovendo a deposição de íons do metal nesse local.
Provas
Em qualquer processo corrosivo, a neutralidade de carga da solução é mantida, uma vez que as reações de redução e de oxidação ocorrem simultaneamente no catodo e no anodo.
Provas
Acerca dos motores do ciclo Diesel, julgue os itens a seguir.
Nos motores do ciclo Diesel, o intercooler atua como resfriador intermediário instalado entre o motor e o turbocompressor, cuja função é baixar a temperatura do ar antes da entrada na turbina, promovendo aumento da velocidade desta e, por consequência, aumento da pressão do ar admitido no motor.
Provas
Acerca dos motores do ciclo Diesel, julgue os itens a seguir.
O uso da injeção em pré-câmara em motores do ciclo Diesel permite a obtenção de melhor rendimento térmico, em razão da redução das perdas de calor devido à pequena área de troca de calor da antecâmara.
Provas
Acerca dos motores do ciclo Diesel, julgue os itens a seguir.
Embora o combustível injetado ao final da compressão do ar, na maioria dos motores do ciclo Diesel, seja o óleo diesel comercial, é possível a utilização de outros combustíveis líquidos, como óleos minerais mais pesados e óleos vegetais, gás combinado ao diesel e mesmo carvão em pó.
Provas
Com relação a máquinas de fluxo, julgue os itens subsequentes.
Considerando-se o ciclo de Brayton ideal, não há, em uma turbina a gás, variação da quantidade de entropia do gás no compressor e na turbina.
Provas
Com relação a máquinas de fluxo, julgue os itens subsequentes.
A perda de carga h em termos de altura física no escoamento
em tubos pode ser calculada de forma prática pela equação
de Darcy-Weisbach, expressa por:
em que Cf
é o coeficiente de fricção; L, o comprimento do tubo; D, o
diâmetro interno do tubo; v, a velocidade média do
escoamento; e g, a aceleração da gravidade.
Provas
Com relação a máquinas de fluxo, julgue os itens subsequentes.
A figura a seguir mostra corretamente as curvas características do conjunto resultante da associação em série das bombas 1 e 2.

Provas

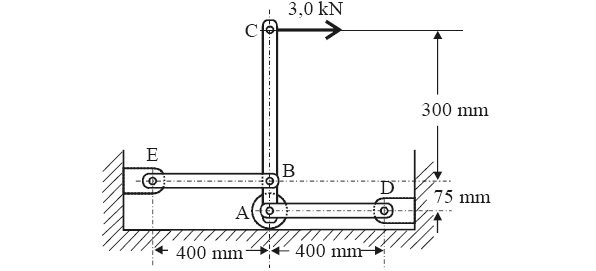
Considerando que o dispositivo esquematizado na figura acima
seja feito de barras de aço carbono com seção transversal de
5 mm × 20 mm e módulo de elasticidade de 200 GPa, julgue os
itens subsequentes.
O círculo de Mohr, em qualquer seção transversal da barra
AD tomada em ponto afastado das rótulas A e D, é
representado corretamente pela figura mostrada abaixo.

Provas
Caderno Container